授权公布号:CN217464695U
一种新型除湿盒
有效
申请
2022-01-21
申请公布
1970-01-01
授权
2022-09-20
预估到期
2032-01-21
| 申请号 | CN202220182232.3 |
| 申请日 | 2022-01-21 |
| 授权公布号 | CN217464695U |
| 授权公告日 | 2022-09-20 |
| 分类号 | F24F3/14;F24F13/20 |
| 分类 | 供热;炉灶;通风; |
| 申请人名称 | 珠海市合顺兴日化股份有限公司 |
| 申请人地址 | 广东省珠海市平沙镇龙泉南路181号1栋 |
专利法律状态
2022-09-20
授权
状态信息
授权
摘要
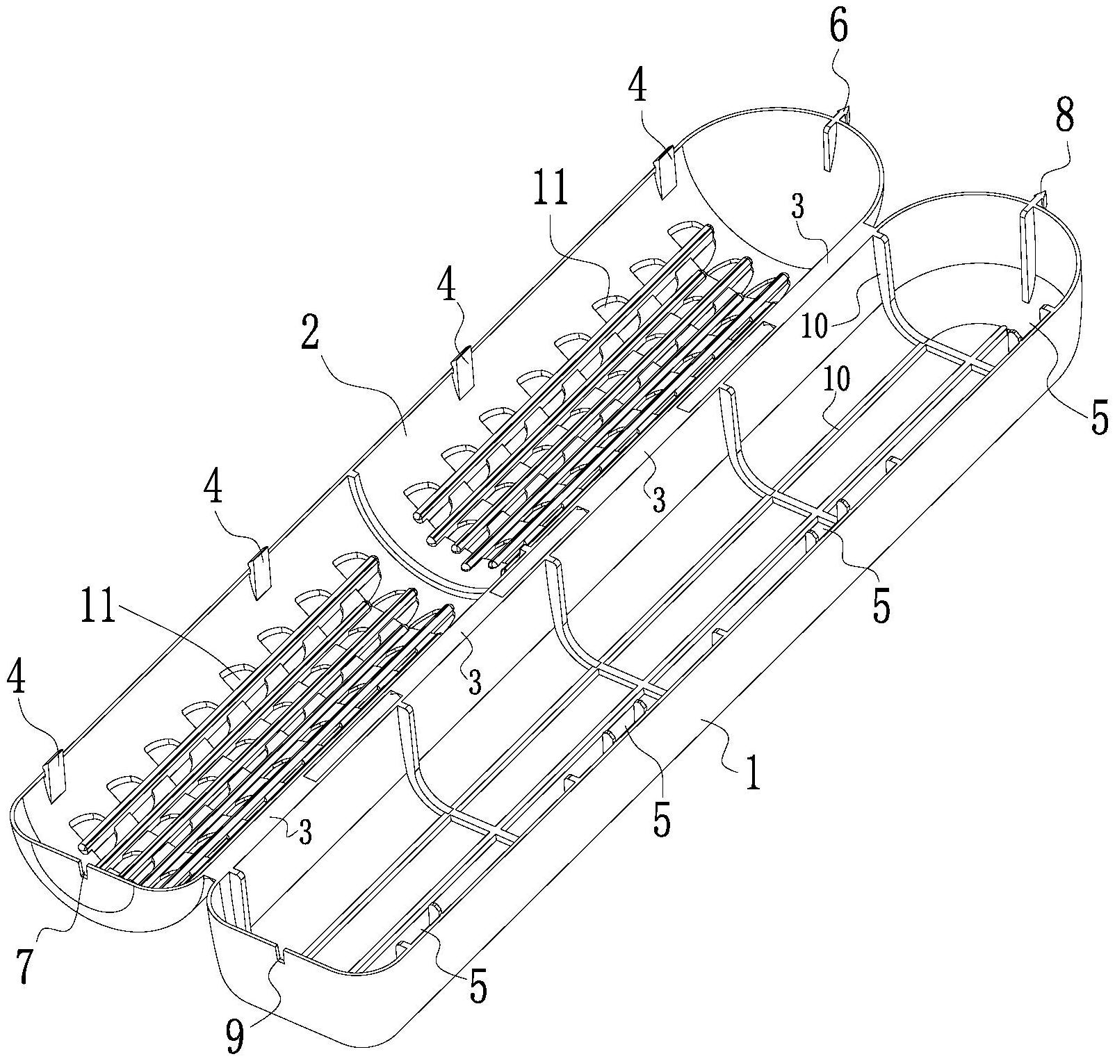
本实用新型公开了一种新型除湿盒,包括盒体、盖设于所述盒体上的盖体以及放置于所述盒体内的除湿材料或芳香材料或除臭/净味材料,设有若干使所述盒体与所述盖体盖合的合页,所述合页的一侧与所述盒体的一侧连接,所述合页的另一侧与所述盖体的一侧连接;还设有固定机构,所述固定机构用于盖合后的所述盒体与所述盖体固定。本实用新型的有益效果在于,结构简单,使用方便;满足每个盒体可以放置不同的材料的需要,例如可以同时放置除湿材料、芳香材料、除臭/净味材料,但是材料之间彼此不会出现干涉;更重要的是,可以将多个除湿盒首尾相连,使其形成“链条”式设计,这样更加方便存放和使用。


