授权公布号:CN214496972U
一种滚筒式制浆机用除渣清理装置
有效
申请
2021-02-24
申请公布
1970-01-01
授权
2021-10-26
预估到期
2031-02-24
| 申请号 | CN202120405872.1 |
| 申请日 | 2021-02-24 |
| 授权公布号 | CN214496972U |
| 授权公告日 | 2021-10-26 |
| 分类号 | D21B1/34;D21B1/32;B08B9/093 |
| 分类 | 造纸;纤维素的生产; |
| 申请人名称 | 河南华兴纸业有限公司 |
| 申请人地址 | 河南省驻马店市西平县环城芳庄 |
专利法律状态
2021-10-26
授权
状态信息
授权
摘要
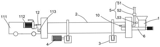
本实用新型公开了一种滚筒式制浆机用除渣清理装置,拍打式回转筒倾斜设置且通过托轮转动安装在地面基础上,电动机驱动托轮带动拍打式回转筒转动,碎纸机安装在拍打式回转筒的进料端,且碎纸机通过螺旋输送机与拍打式回转筒的进料端连通,注水机构与拍打式回转筒的进料端连通,喷冲清渣装置安装在拍打式回转筒的出料端,且喷冲清渣装置的出水端倾斜设置且在拍打式回转筒内来回移动。滚筒式制浆机极大的节约水资源和能源,提高加工效率和加工质量,该滚筒式制浆机用的除渣清理装置,利用高压水冲刷的方式,将拍打式回转筒内壁上附着的纸浆以及其他杂质给清理掉,防止影响纸浆的质量,保证拍打式回转筒的正常工作。


