授权公布号:CN214328291U
一种废纸回收用水力碎浆机
有效
申请
2020-12-22
申请公布
1970-01-01
授权
2021-10-01
预估到期
2030-12-22
| 申请号 | CN202023114687.1 |
| 申请日 | 2020-12-22 |
| 授权公布号 | CN214328291U |
| 授权公告日 | 2021-10-01 |
| 分类号 | D21B1/34;D21B1/32 |
| 分类 | 造纸;纤维素的生产; |
| 申请人名称 | 河南华兴纸业有限公司 |
| 申请人地址 | 河南省驻马店市西平县环城芳庄 |
专利法律状态
2021-10-01
授权
状态信息
授权
摘要
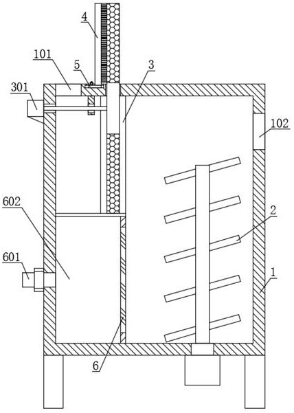
本实用新型公开了一种废纸回收用水力碎浆机,包括碎浆箱体,所述碎浆箱体上开设有进料口和出料口,且碎浆箱体转动连接有碎浆切割总成,碎浆箱体内靠近进料口处设有磁性筛选装置,碎浆箱体上设有毛刷,且毛刷与磁性筛选装置相接触。本实用新型的有益效果是:通过设置磁性筛选装置,在毛刷的作用下,能使磁性筛选装置吸附铁磁性物质,且该物质跟随圆形网板旋转,当其转出碎浆箱体与毛刷相接触时,毛刷能将该物质扫除,达到有效去除铁磁性物料且不停机的目的。


