授权公布号:CN217993598U
一种废纸快速回收装置
有效
申请
2022-09-05
申请公布
1970-01-01
授权
2022-12-09
预估到期
2032-09-05
| 申请号 | CN202222387604.9 |
| 申请日 | 2022-09-05 |
| 授权公布号 | CN217993598U |
| 授权公告日 | 2022-12-09 |
| 分类号 | B30B9/00;B30B15/32;B30B15/00 |
| 分类 | 压力机; |
| 申请人名称 | 河南华兴纸业有限公司 |
| 申请人地址 | 河南省驻马店市西平县环城芳庄 |
专利法律状态
2022-12-09
授权
状态信息
授权
摘要
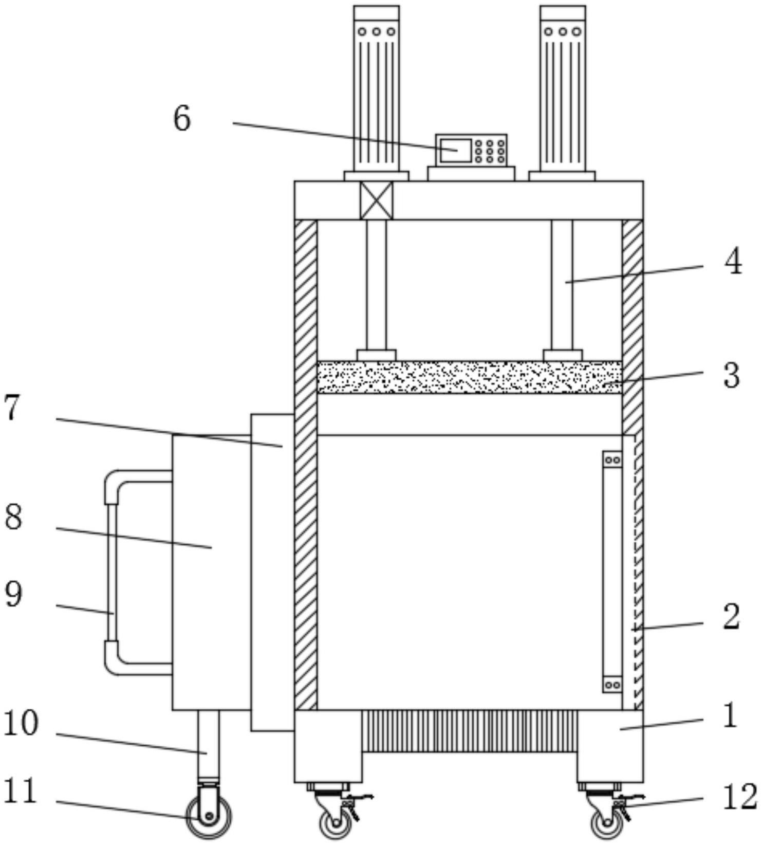
本实用新型公开了一种废纸快速回收装置,包括装置本体,所述装置本体内部滑动插接有前挡板,所述前挡板一端设置有推把,所述前挡板底端设置有支撑杆,所述支撑杆底端设置有滑轮,所述装置本体内壁表面开设有卡槽,所述装置本体内壁另一侧贯穿开设有第一让位滑道。本实用新型中,通过设置前挡板、卡槽、限位板、第一让位滑道、限位台的配合使用,便于对收集压合好的废纸进行倒出,此方式操作简单,便于对废纸的压合,避免在压合时废纸的散乱,提高其收集压合的效率,同时通过限位块、限位台的配合使用,便于对前挡板的限位,避免前挡板在移动时越位,而且通过支撑杆和滑轮的配合使用,便于提高对前挡板移动时的稳定性。


