授权公布号:CN207695287U
一种用于清洗生产线的锅体固定吊架
有效
申请
2017-11-10
申请公布
1970-01-01
授权
2018-08-07
预估到期
2027-11-10
| 申请号 | CN201721508114.2 |
| 申请日 | 2017-11-10 |
| 授权公布号 | CN207695287U |
| 授权公告日 | 2018-08-07 |
| 分类号 | B08B13/00 |
| 分类 | 清洁; |
| 申请人名称 | 江门市伊尔乐厨卫电器有限公司 |
| 申请人地址 | 广东省江门市鹤山云乡镇紫云路云新工业区 |
专利法律状态
2018-08-07
授权
状态信息
授权
摘要
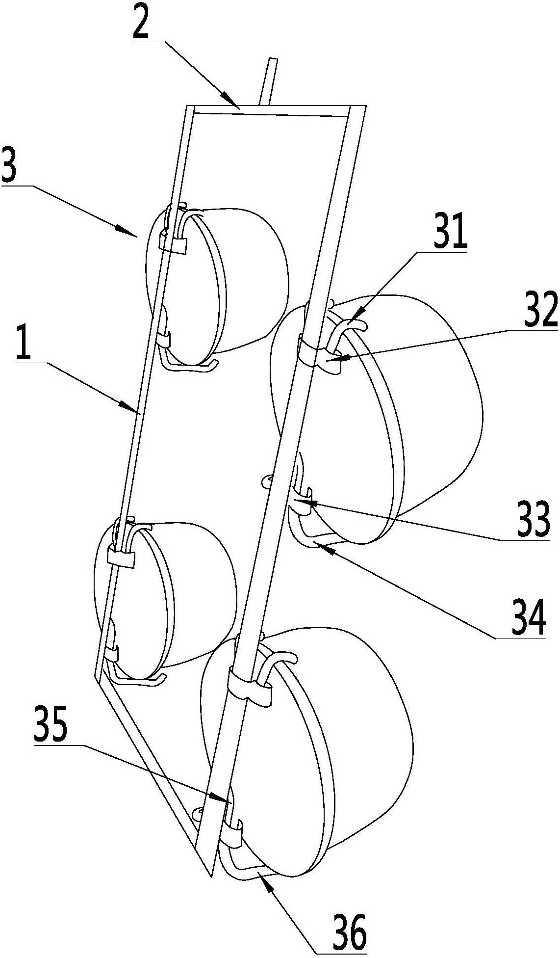
本实用新型公开了一种用于清洗生产线的锅体固定吊架,包括矩形框架,矩形框架上设置有多个卡扣组件,卡扣组件包括下托架和上扣架,上扣架包括两个卡爪,以及固装在矩形框架上第一固定座,卡爪安装在第一固定座上,下托架包括固装在矩形框架上的第二固定架,以及通过第二固定架连接的叉状件。通过卡扣组件对工件进行固定,再送到下一工位进行清洗,代替了传统工艺中又人工进行手持工件逐个清洗的繁琐步骤,提高了工作效率和清洗的质量。


