授权公布号:CN206816908U
一种旋转节流阀
有效
申请
2017-05-24
申请公布
1970-01-01
授权
2017-12-29
预估到期
2027-05-24
| 申请号 | CN201720582199.2 |
| 申请日 | 2017-05-24 |
| 授权公布号 | CN206816908U |
| 授权公告日 | 2017-12-29 |
| 分类号 | F16K27/02;F16K1/04 |
| 分类 | 工程元件或部件;为产生和保持机器或设备的有效运行的一般措施;一般绝热; |
| 申请人名称 | 山西征宇喷灌有限公司 |
| 申请人地址 | 山西省太原市尖草坪区新城村新城北街121号 |
专利法律状态
2017-12-29
授权
状态信息
授权
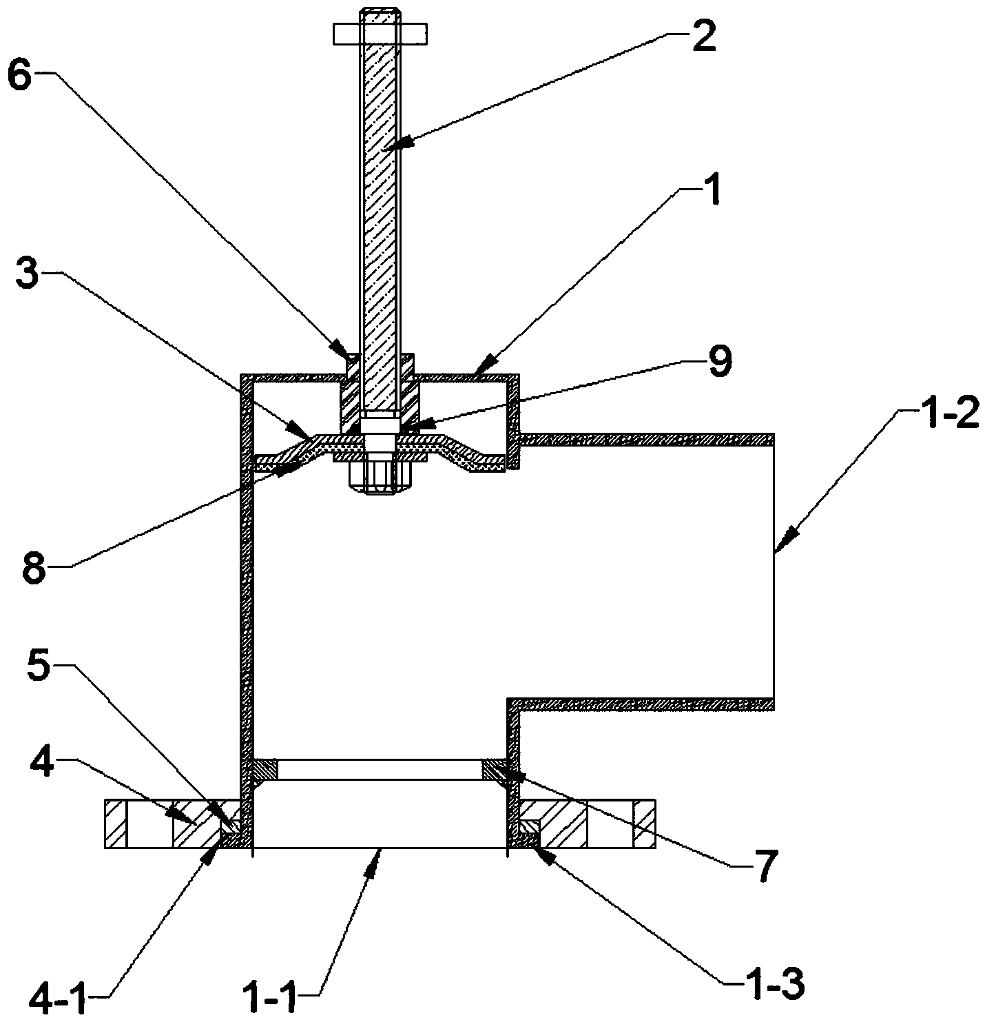
摘要
一种旋转节流阀,属于喷灌设备技术领域,解决现有的节流阀存在的不能调整方向或调整方向过程复杂、影响输水效率的技术问题。本实用新型的技术方案是:一种旋转节流阀,包括阀体、阀杆和阀盖,所述阀体底部设有进水口,所述阀体一侧、垂直于进水口方向设有出水口,其中:所述进水口端部外侧设有凸缘,所述述进水口外圆周方向设有可与标准法兰连接的固定法兰,所述固定法兰下表面设有与凸缘相配合的凹槽,所述凹槽底部与凸缘之间设有密封圈;所述阀体顶面中部设有阀体上盖螺母,所述阀杆设在阀体上盖螺母中部且与阀体上盖螺母之间通过螺纹连接,所述阀盖设在阀体内腔中,所述阀体内壁靠近出水口设有阀体启闭口挡圈。


