授权公布号:CN218013710U
一种纳米纤维素的牛皮箱纸板生产用涂胶装置
有效
申请
2021-10-27
申请公布
1970-01-01
授权
2022-12-13
预估到期
2031-10-27
| 申请号 | CN202122592977.5 |
| 申请日 | 2021-10-27 |
| 授权公布号 | CN218013710U |
| 授权公告日 | 2022-12-13 |
| 分类号 | B05C1/16;B05C9/04;B05C11/10 |
| 分类 | 一般喷射或雾化;对表面涂覆液体或其他流体的一般方法〔2〕; |
| 申请人名称 | 浙江荣晟环保纸业股份有限公司 |
| 申请人地址 | 浙江省嘉兴市平湖经济开发区镇南东路588号 |
专利法律状态
2022-12-13
授权
状态信息
授权
摘要
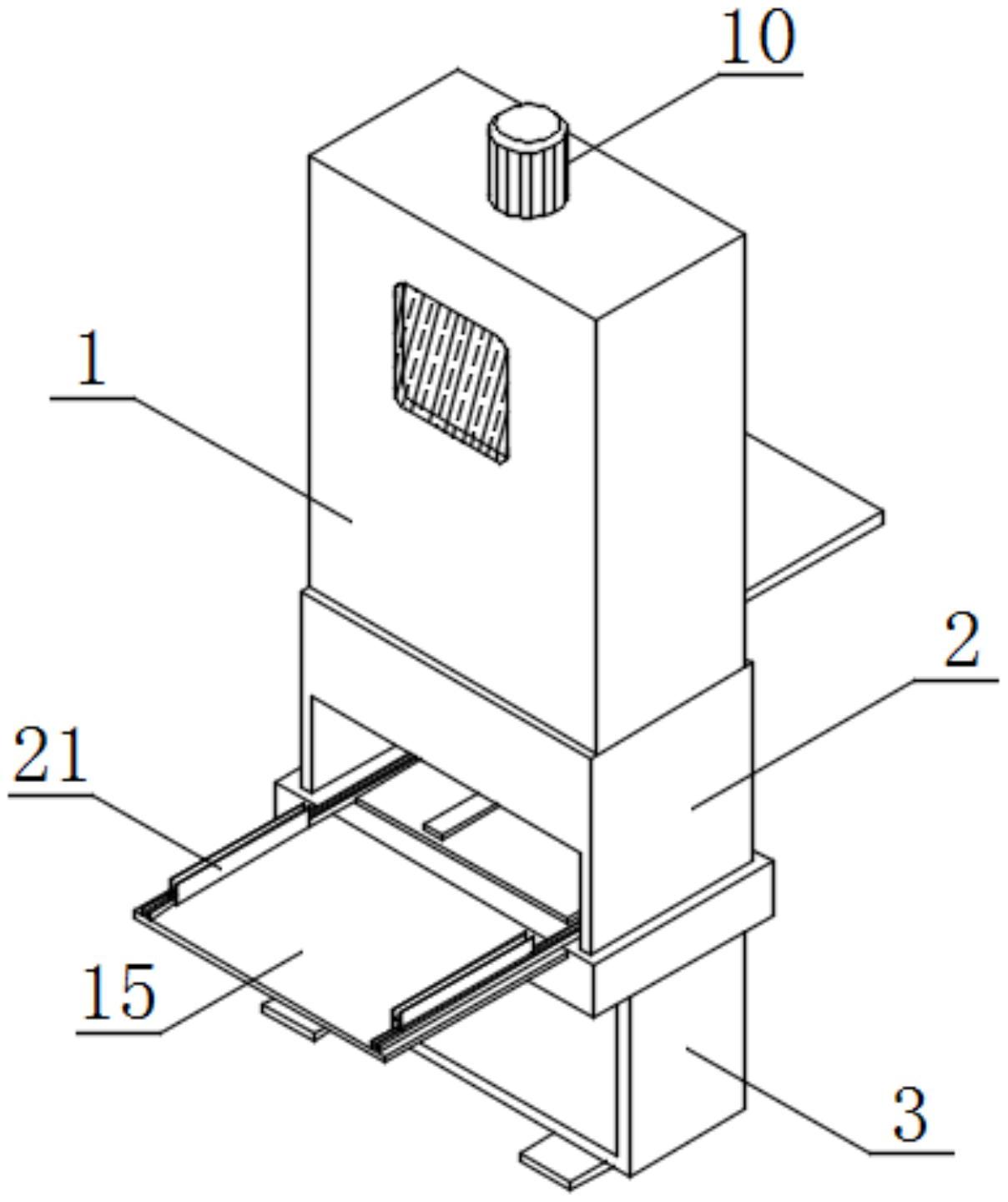
本实用新型公开了一种纳米纤维素的牛皮箱纸板生产用涂胶装置,包括活动腔、涂胶台和支撑架,所述活动腔的底部设置有涂胶台,所述涂胶台的底部设置有支撑架,所述活动腔的背面安装有支撑座,所述支撑座的顶部设置有伺服电机,所述伺服电机的输出端安装有螺纹杆,所述螺纹杆的表面螺纹贯穿有螺纹套筒,所述螺纹套筒的表面安装有固定杆,所述螺纹杆的底端螺纹连接有限位座,所述限位座的表面连接有推板。本实用新型通过活动腔、涂胶台、伺服电机、螺纹杆、推板、连接板、活动板、涂胶辊、出料管、加料管、气缸和按压板的设置,使得牛皮箱纸板的两侧均能涂抹均匀,提高了工作的效率,加快了工作进度。


