授权公布号:CN113774703B
一种瓦楞芯纸生产用除渣装置
有效
申请
2021-10-09
申请公布
2021-12-10
授权
2023-06-27
预估到期
2041-10-09
| 申请号 | CN202111176904.6 |
| 申请日 | 2021-10-09 |
| 申请公布号 | CN113774703A |
| 申请公布日 | 2021-12-10 |
| 授权公布号 | CN113774703B |
| 授权公告日 | 2023-06-27 |
| 分类号 | D21D5/02;D21B1/34 |
| 分类 | 造纸;纤维素的生产; |
| 申请人名称 | 浙江荣晟环保纸业股份有限公司 |
| 申请人地址 | 浙江省嘉兴市平湖经济技术开发区镇南东路588号 |
专利法律状态
2023-06-27
授权
状态信息
授权
2021-12-28
实质审查的生效
状态信息
实质审查的生效;IPC(主分类):D21D5/02;申请日:20211009
2021-12-10
公布
状态信息
公布
摘要
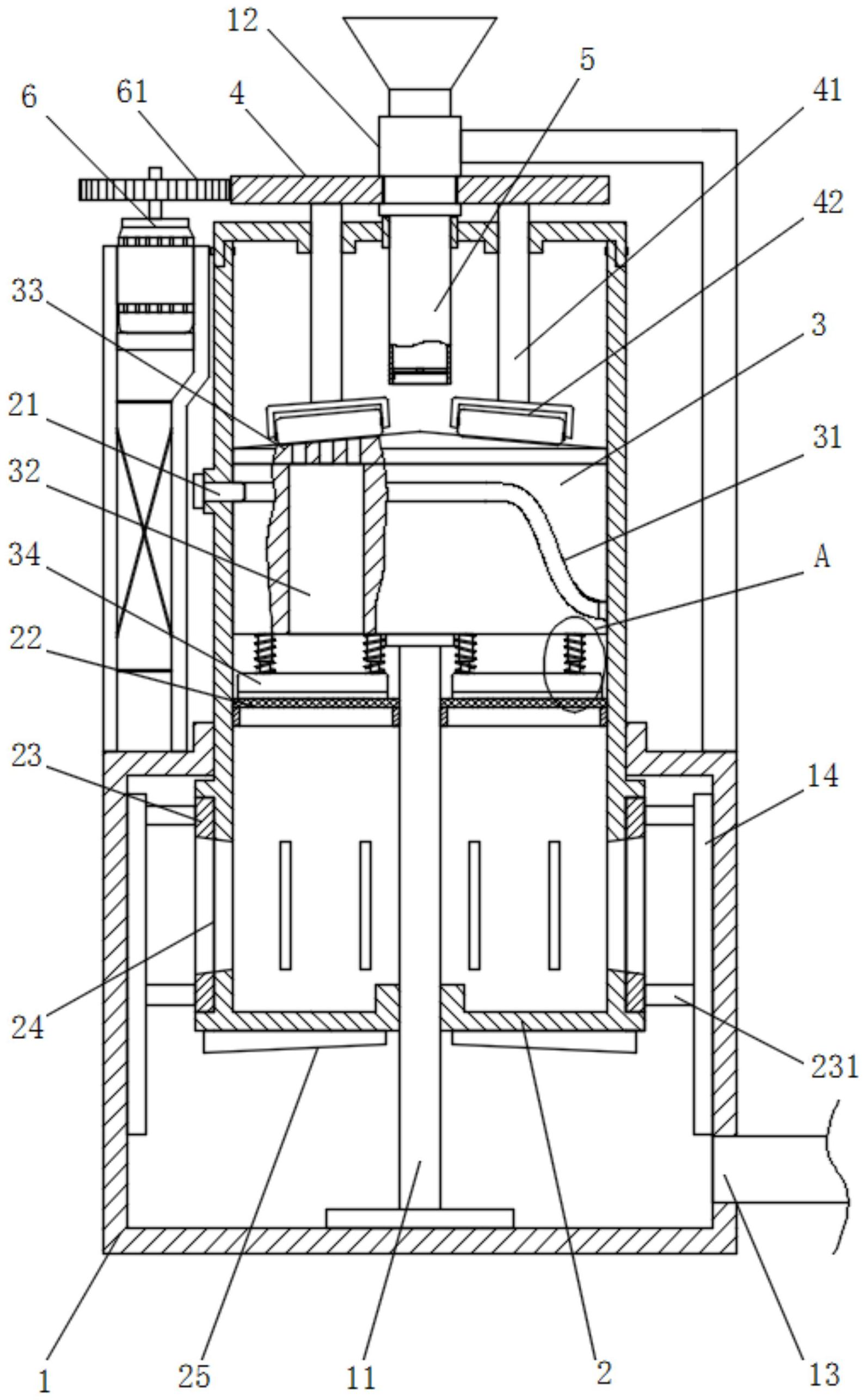
本发明公开了一种瓦楞芯纸生产用除渣装置,涉及瓦楞芯纸生产技术领域,包括固定桶,所述固定桶顶端的内部插有升降桶,所述固定桶的内部固定连接有固定杆,所述固定杆的顶端延伸至升降桶的内部,并固定连接有固定盘,所述升降桶滑动套设于固定盘的外部,所述升降桶的顶部设置有支撑套,所述支撑套通过连接架与固定桶固定连接,所述支撑套的外部转动安装有齿轮盘。本发明通过带动升降桶不断转动,不仅实现了对升降桶上下空腔的压缩控制,使得浆液流动更加有力,同时,还实现了对浆液中纤维的进一步粉碎功能,提高了装置的除杂过滤的效率,进一步地提高了对瓦楞芯纸生产用浆液的处理效果,提高了瓦楞芯纸的生产质量。


