授权公布号:CN114950000B
一种再生箱纸板污泥回收设备
有效
申请
2022-03-16
申请公布
2022-08-30
授权
2023-08-08
预估到期
2042-03-16
| 申请号 | CN202210259965.7 |
| 申请日 | 2022-03-16 |
| 申请公布号 | CN114950000A |
| 申请公布日 | 2022-08-30 |
| 授权公布号 | CN114950000B |
| 授权公告日 | 2023-08-08 |
| 分类号 | B01D36/04;B01F31/445;B01F33/40;B01F31/00;D21D5/02;B01D29/82;B01D29/86 |
| 分类 | 一般的物理或化学的方法或装置; |
| 申请人名称 | 浙江荣晟环保纸业股份有限公司 |
| 申请人地址 | 浙江省嘉兴市平湖经济技术开发区镇南东路588号 |
专利法律状态
2023-08-08
授权
状态信息
授权
2022-09-16
实质审查的生效
状态信息
实质审查的生效;IPC(主分类):B01D36/04;申请日:20220316
2022-08-30
公布
状态信息
公布
摘要
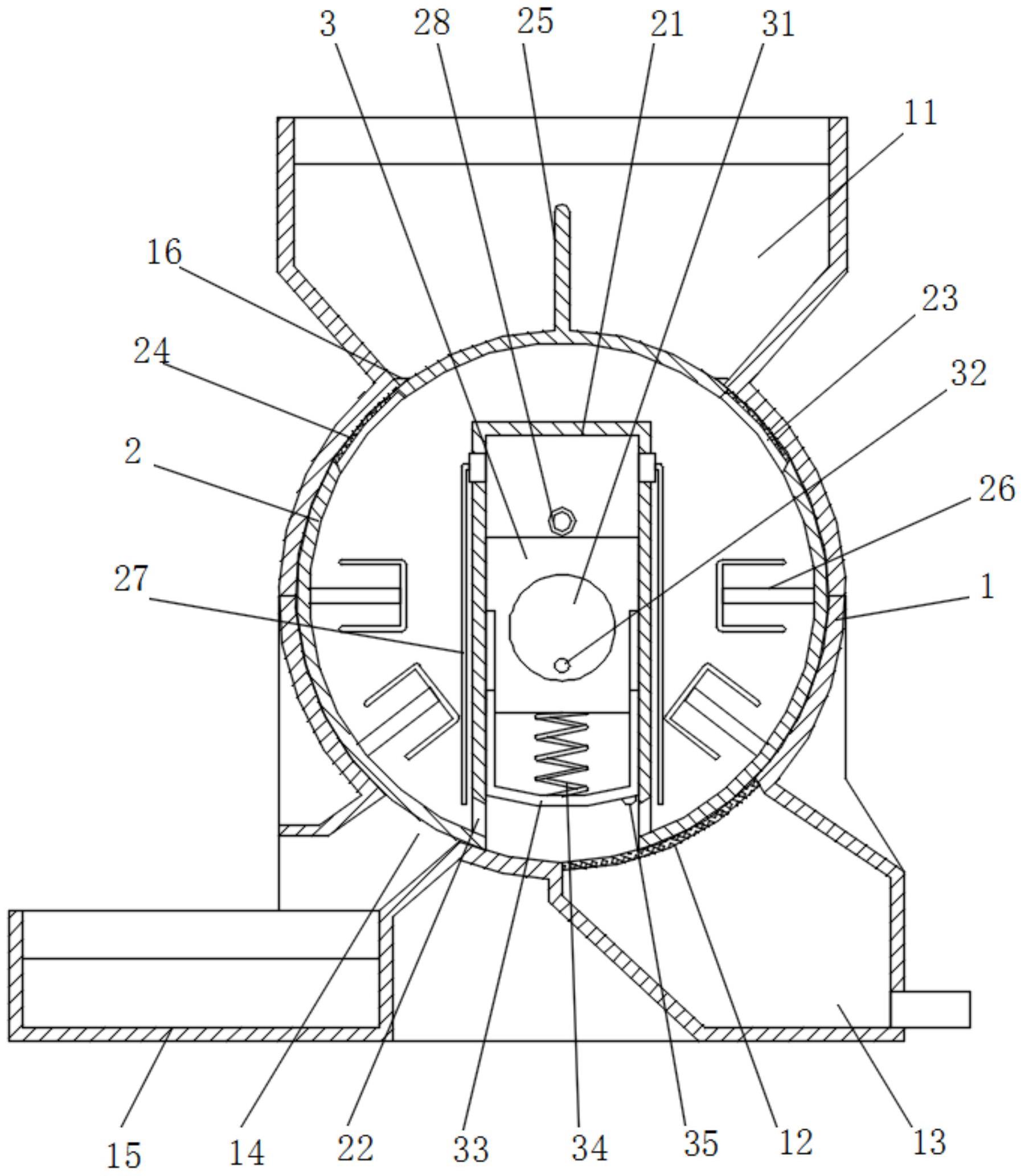
本发明公开了一种再生箱纸板污泥回收设备,涉及箱纸板加工技术领域,包括机壳,所述机壳的内部转动安装有转筒,所述机壳的顶部固定连接有纸浆水槽,所述转筒的内部设置有内凹腔,所述内凹腔的底端与转筒的周向壁相连,并形成一个向下的开口,所述转筒的两端均设置为封口,并与机壳的两端内壁滑动配合,所述内凹腔的内部设置有矩形柱。本发明通过驱动偏心转柱偏心转动,带动矩形柱摆动并带动转筒左右摆动,不仅通过进水口完成向转筒中放水和行搅拌的功能,且利用矩形柱的不断升降,不仅完成间隔放水,还实现了将污泥推向出泥口并排出的功能,提高了设备对再生箱纸板加工过程中产生的浆水废水的有效回收处理的效率。


