授权公布号:CN220425155U
用于复合生物酶制剂的复配装置
有效
申请
2023-07-24
申请公布
1970-01-01
授权
2024-02-02
预估到期
2033-07-24
| 申请号 | CN202321957481.6 |
| 申请日 | 2023-07-24 |
| 授权公布号 | CN220425155U |
| 授权公告日 | 2024-02-02 |
| 分类号 | B01F31/00;B01F101/44N |
| 分类 | 一般的物理或化学的方法或装置; |
| 申请人名称 | 浙江荣晟环保纸业股份有限公司 |
| 申请人地址 | 浙江省嘉兴市平湖经济开发区镇南东路588号 |
专利法律状态
2024-02-02
授权
状态信息
授权
摘要
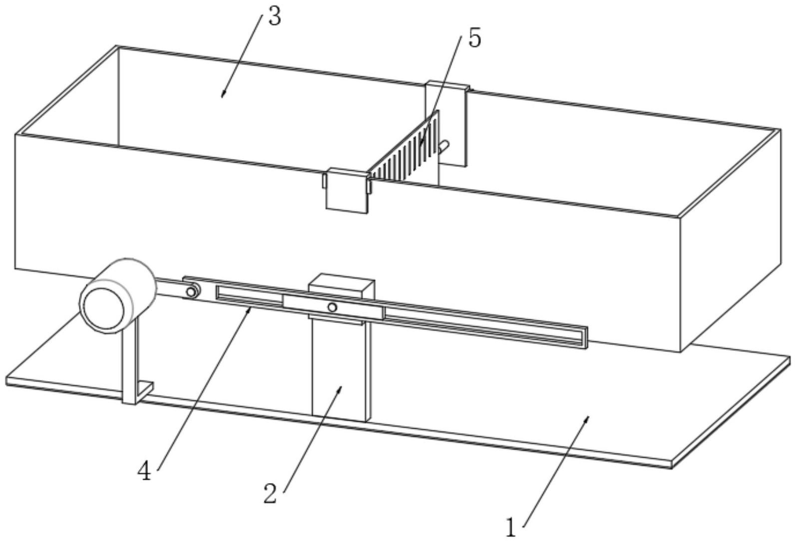
本实用新型公开了用于复合生物酶制剂的复配装置,包括:底板,底板中部两侧均设置有支撑件,一对支撑件之间安装有能够旋转倾斜的复配盒体;摇摆驱动机构,摇摆驱动机构包括摇摆条块、摇摆臂、驱动电机以及连接臂,摇摆条块与复配盒体的旋转轴连接,摇摆臂上沿长度方向开设有滑槽,摇摆条块滑动嵌装在滑槽内,驱动电机固定安装在底板上,连接臂的一端与驱动电机的动力输出轴连接,连接臂的另外一端与摇摆臂的端部铰接。本实用新型采用复配盒体旋转摇摆的方式对用于酶制剂复配的原料摇混复配,酶制剂的混合效果更好,同时避免搅拌桨叶与原料接触,规避了搅拌桨不易清洗的问题,使用更为便捷实用,更有利于酶制剂的复配作业。


