授权公布号:CN217726344U
一种再生胶粘物脱粘设备
有效
申请
2022-06-01
申请公布
1970-01-01
授权
2022-11-04
预估到期
2032-06-01
| 申请号 | CN202221355125.2 |
| 申请日 | 2022-06-01 |
| 授权公布号 | CN217726344U |
| 授权公告日 | 2022-11-04 |
| 分类号 | B08B1/00;B08B7/00;B08B13/00 |
| 分类 | 清洁; |
| 申请人名称 | 浙江荣晟环保纸业股份有限公司 |
| 申请人地址 | 浙江省嘉兴市平湖经济开发区镇南东路588号 |
专利法律状态
2022-11-04
授权
状态信息
授权
摘要
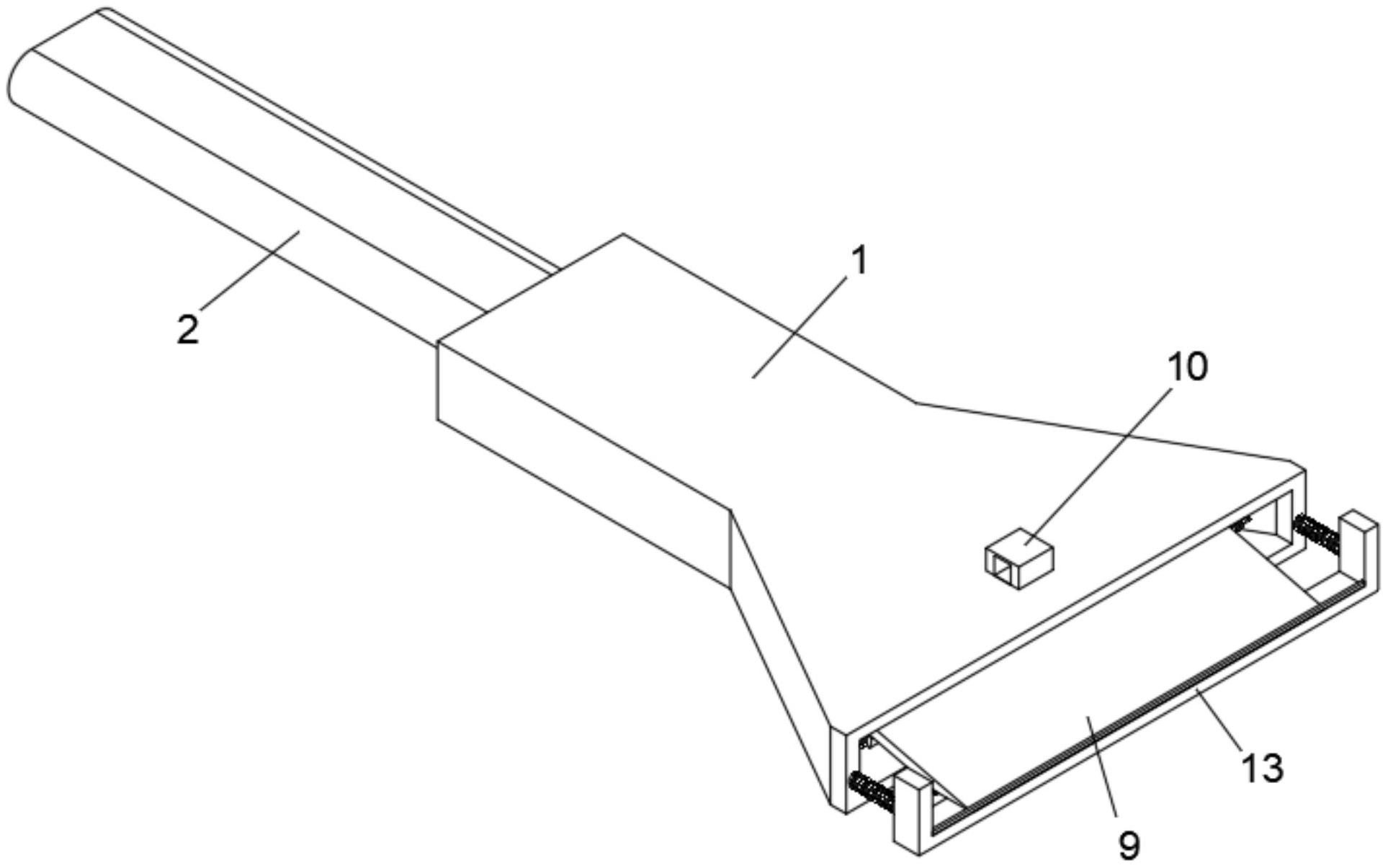
本实用新型属于再生胶脱粘技术领域。尤其是一种再生胶粘物脱粘设备,包括安装套,所述安装套背面固设有把手,所述安装套内部固设有吹风装置和电加热丝,所述安装套内壁呈左右对称结构转动连接有两个转轴,所述转轴圆周外壁套设有扭簧,所述转轴靠内一端固设有安装座,所述安装座顶部固设有固定杆,所述安装套内部设有刀片,所述安装套前方设有保护套,所述保护套内壁固设有卡块,所述保护套背面呈左右对称结构固设有两个滑杆,所述滑杆圆周外壁套设有弹簧二,所述刀片底部固设有卡槽;此设计能够提高刀片的稳定性,从而有利于对胶水进行清理,通过打开电加热丝,并通过吹风装置对安装套内部进行吹风,从而能够对胶体进行加热,便于胶体脱粘。


