授权公布号:CN218090299U
一种具有纤维素基助留剂添加结构的压力筛
有效
申请
2022-09-30
申请公布
1970-01-01
授权
2022-12-20
预估到期
2032-09-30
| 申请号 | CN202222609080.3 |
| 申请日 | 2022-09-30 |
| 授权公布号 | CN218090299U |
| 授权公告日 | 2022-12-20 |
| 分类号 | D21D5/06 |
| 分类 | 造纸;纤维素的生产; |
| 申请人名称 | 浙江荣晟环保纸业股份有限公司 |
| 申请人地址 | 浙江省嘉兴市平湖经济开发区镇南东路588号 |
专利法律状态
2022-12-20
授权
状态信息
授权
摘要
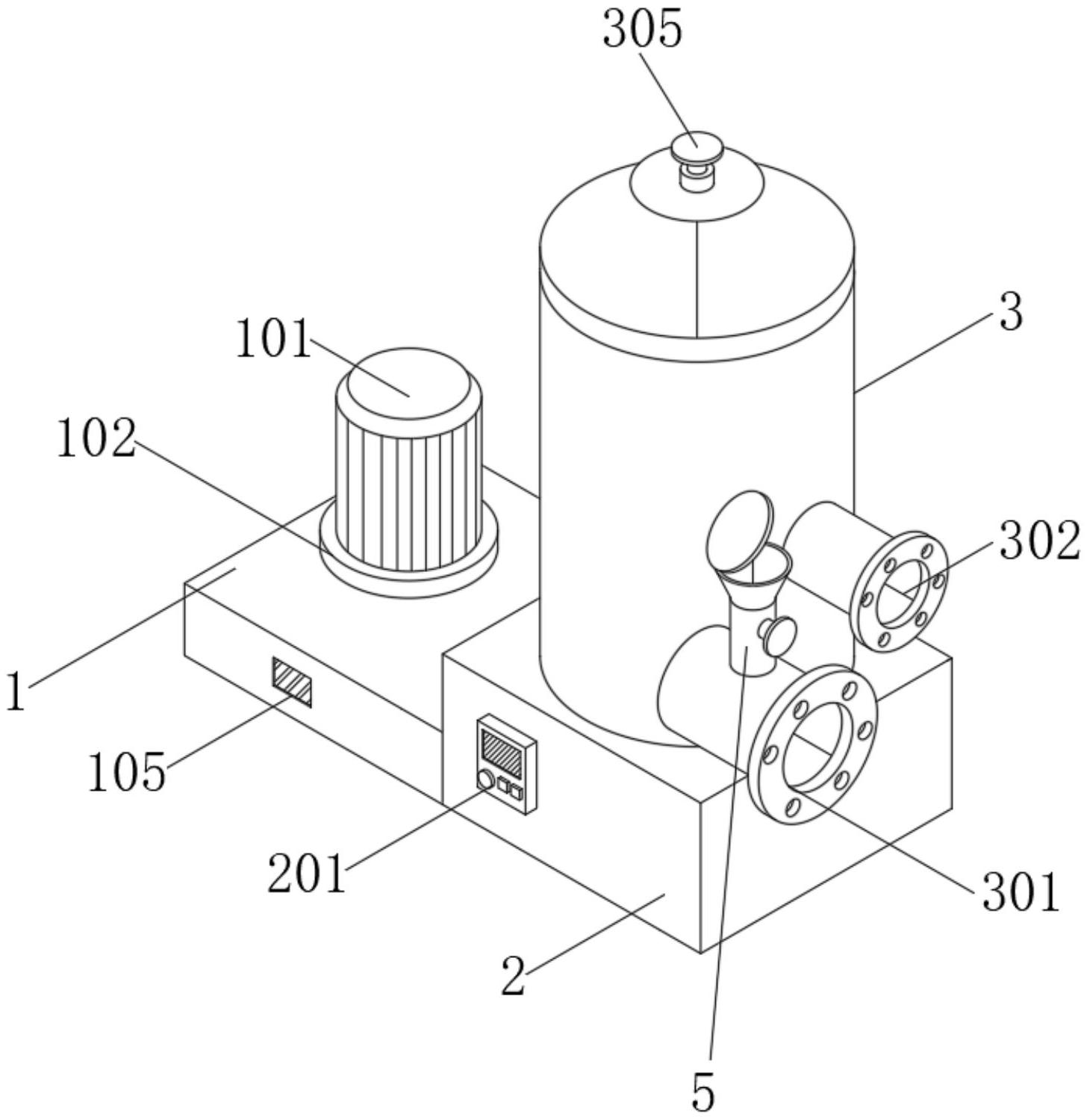
本实用新型公开了一种具有纤维素基助留剂添加结构的压力筛,包括第一安装架、第二安装架和压力筛主体,所述第一安装架的一侧安装有第二安装架,所述第二安装架的顶部安装有压力筛主体,所述压力筛主体的一侧安装有进浆口,所述进浆口的顶部贯穿安装有纤维素基助留剂添加口,所述纤维素基助留剂添加口的顶端安装有盖板。本实用新型通过纤维素基助留剂添加口来添加纤维素基助留剂,可利用把手来让转动杆进行转动,继而可带动阻挡板来运动控制纤维素基助留剂加入的量,提升了该压力筛时生产的成纸的质量,同时通过测量杆和应力传感器来测量皮带的张紧力,利用皮带应力显示屏进行人机交互,避免了工作过程中皮带打滑造成皮带轮的掉落。


