授权公布号:CN217486973U
一种旋耕机用拢草碎草机构
有效
申请
2022-05-13
申请公布
1970-01-01
授权
2022-09-27
预估到期
2032-05-13
| 申请号 | CN202221152958.9 |
| 申请日 | 2022-05-13 |
| 授权公布号 | CN217486973U |
| 授权公告日 | 2022-09-27 |
| 分类号 | A01D43/10;A01D43/06;A01D57/20 |
| 分类 | 农业;林业;畜牧业;狩猎;诱捕;捕鱼; |
| 申请人名称 | 连云港大陆农业机械装备有限公司 |
| 申请人地址 | 江苏省连云港市灌云县经济开发区纬三东路8号 |
专利法律状态
2022-09-27
授权
状态信息
授权
摘要
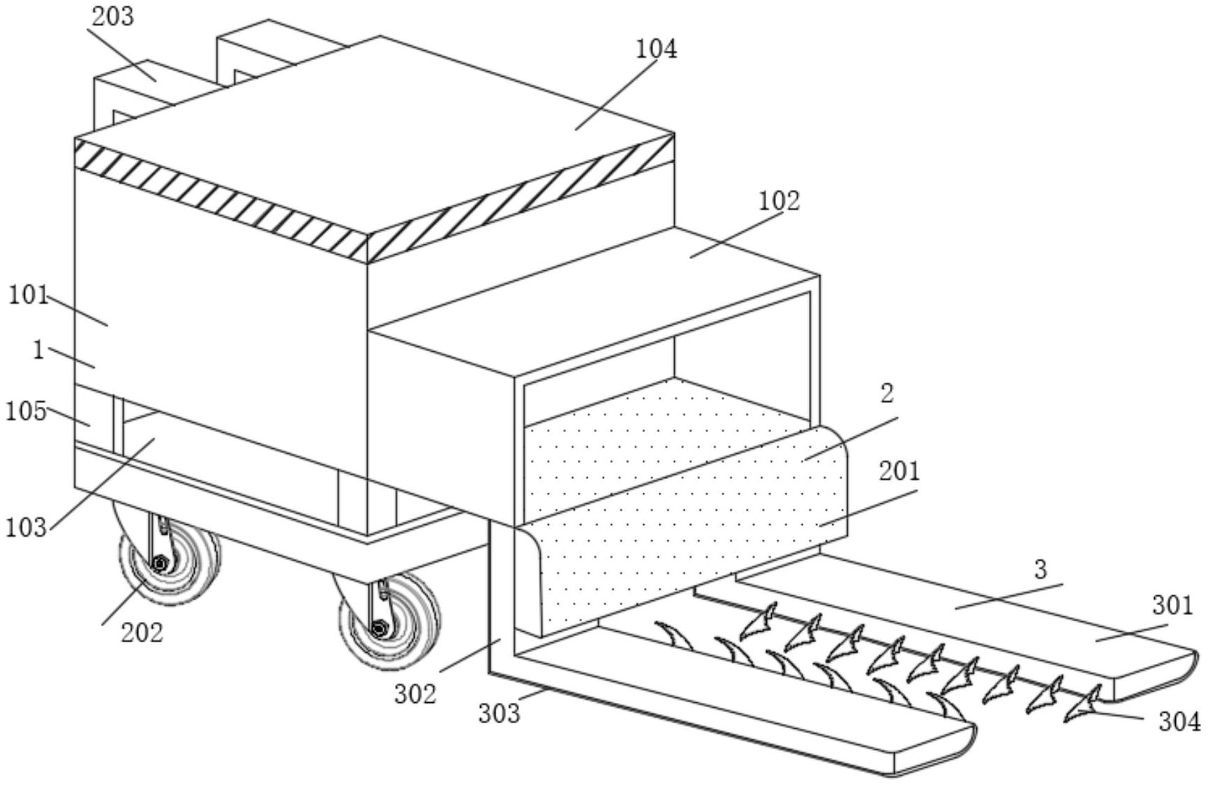
本实用新型涉及旋耕机碎草技术领域,且公开了一种旋耕机用拢草碎草机构,包括主体机构、传送机构、拢草机构和破碎机构,所述传送机构位于主体机构的前端,所述拢草机构位于主体机构前端的下端,所述破碎机构位于主体机构的下端,所述主体机构包括机构本体、前置腔箱、缓冲空腔、顶盖和支撑杆,所述前置腔箱固定安装在机构本体的前端,所述缓冲空腔固定设置在机构本体的下端,所述顶盖固定安装在机构本体的上端,所述支撑杆固定安装在机构本体的下端,所述支撑杆与机构本体螺纹连接。该旋耕机用拢草碎草机构,通过安装破碎机构,在对荒草进行切割的后,负压风机强大的吸力,可以提高荒草聚拢的效率,保证了碎草的工作效率。


