授权公布号:CN105606560B
一种乳酸菌饮料保质期质量检测传感器及检测方法
有效
申请
2016-01-12
申请公布
2016-05-25
授权
2018-05-29
预估到期
2036-01-12
| 申请号 | CN201610017614.X |
| 申请日 | 2016-01-12 |
| 申请公布号 | CN105606560A |
| 申请公布日 | 2016-05-25 |
| 授权公布号 | CN105606560B |
| 授权公告日 | 2018-05-29 |
| 分类号 | G01N21/3577 |
| 分类 | 测量;测试; |
| 申请人名称 | 东莞石龙津威饮料食品有限公司 |
| 申请人地址 | 广东省东莞市石龙镇中山西路198号 |
专利法律状态
2018-05-29
授权
状态信息
授权
2016-06-22
实质审查的生效
状态信息
实质审查的生效IPC(主分类):G01N 21/3577申请日:20160112
2016-05-25
公布
状态信息
公开
摘要
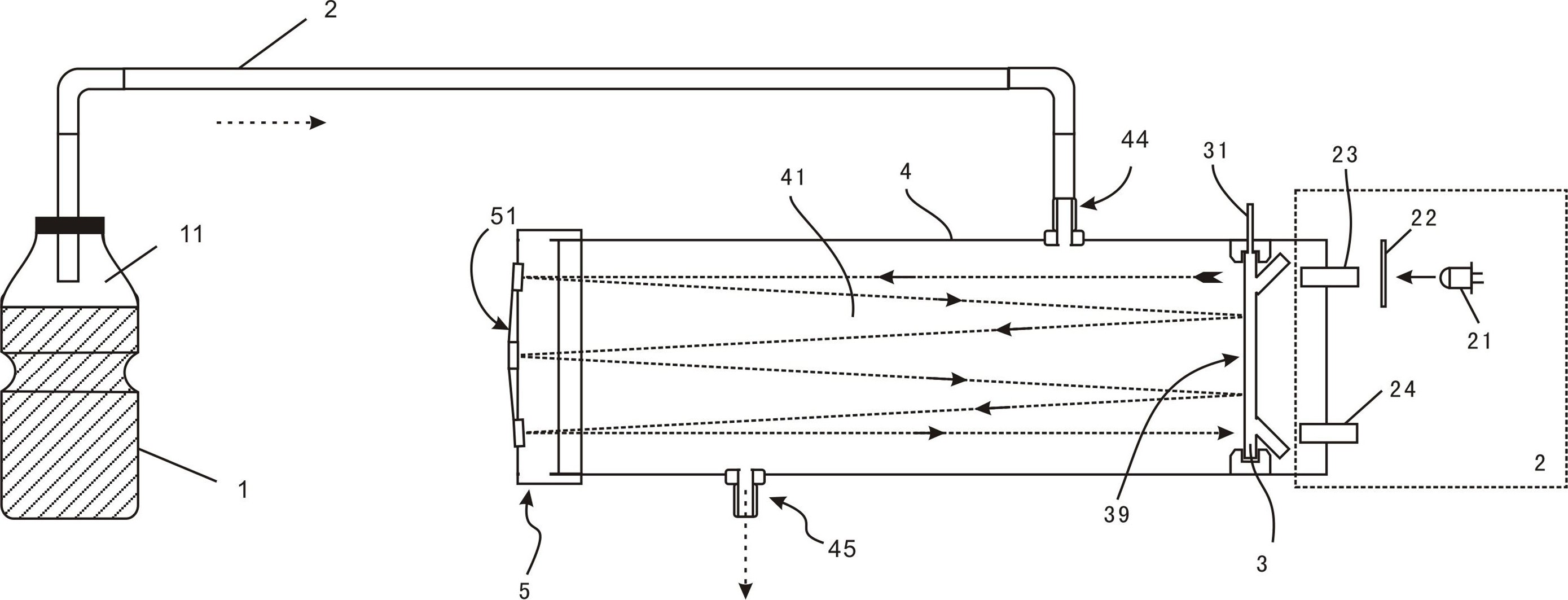
一种乳酸菌饮料保质期质量检测传感器及检测方法,传感器包括一气室,所述气室内部是气流腔,气室连接底座;气室有进气口和出气口;气室的另一侧设置一动镜,动镜能够在外力驱动下转动;一红外光信号模组,设置在动镜外侧,在动镜的第一状态时,动镜上的两45°的反射镜不阻挡红外光信号模组的入射光,光线射入气流腔之中,从气流腔中返回的出射光由红外光信号模组中的光接收器接收;接收的信号由微处理器进行存储和处理,并将处理结果进行显示。本发明提供了除了根据产品的色泽、气泡、体积膨胀、气味、口感来判断乳酸菌饮料变质之外的一种检测手段,量化了变质气体溢出浓度与乳酸菌饮料变质的关系,本发明直观,准确地提供了数据。


