授权公布号:CN213152817U
一种旋耕机用施肥装置
有效
申请
2020-06-23
申请公布
1970-01-01
授权
2021-05-11
预估到期
2030-06-23
| 申请号 | CN202021174725.X |
| 申请日 | 2020-06-23 |
| 授权公布号 | CN213152817U |
| 授权公告日 | 2021-05-11 |
| 分类号 | A01B49/06 |
| 分类 | 农业;林业;畜牧业;狩猎;诱捕;捕鱼; |
| 申请人名称 | 连云港大陆农业机械装备有限公司 |
| 申请人地址 | 江苏省连云港市灌云县经济开发区纬三东路北侧 |
专利法律状态
2021-05-11
授权
状态信息
授权
摘要
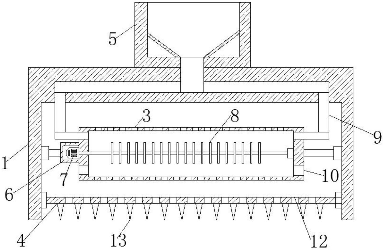
本实用新型公开了一种旋耕机用施肥装置,涉及农业机械领域,针对现有的旋耕机大多不具有自动施肥功能,这使得在作业效率低,工作量大的问题,现提出如下方案,其包括旋耕机主体和肥料箱,所述旋耕机主体通过自带电机的输出端通过齿轮啮合有旋耕刀,所述肥料箱的右侧固定安装有电机箱,所述电机箱的左侧与所述旋耕机主体自带电机通过齿轮啮合,所述肥料箱的右侧转动安装在所述旋耕机主体上,所述电机箱内固定安装有电机,所述电机的输出端固定安装有位于所述肥料箱内的搅拌杆,所述肥料箱的上下两侧壁均开设有多个出料孔,所述肥料箱的左右两侧壁开设有滑槽,通过这种设置可以实现在旋耕时自动施肥的效果,大大提高了工作的效率。


