授权公布号:CN215285455U
一种新型粉料包装机
有效
申请
2021-03-22
申请公布
1970-01-01
授权
2021-12-24
预估到期
2031-03-22
| 申请号 | CN202120582090.5 |
| 申请日 | 2021-03-22 |
| 授权公布号 | CN215285455U |
| 授权公告日 | 2021-12-24 |
| 分类号 | B65B37/10 |
| 分类 | 输送;包装;贮存;搬运薄的或细丝状材料; |
| 申请人名称 | 郑州嵩威机械制造有限公司 |
| 申请人地址 | 河南省郑州市登封市君召乡胥店市场西100米路南 |
专利法律状态
2021-12-24
授权
状态信息
授权
摘要
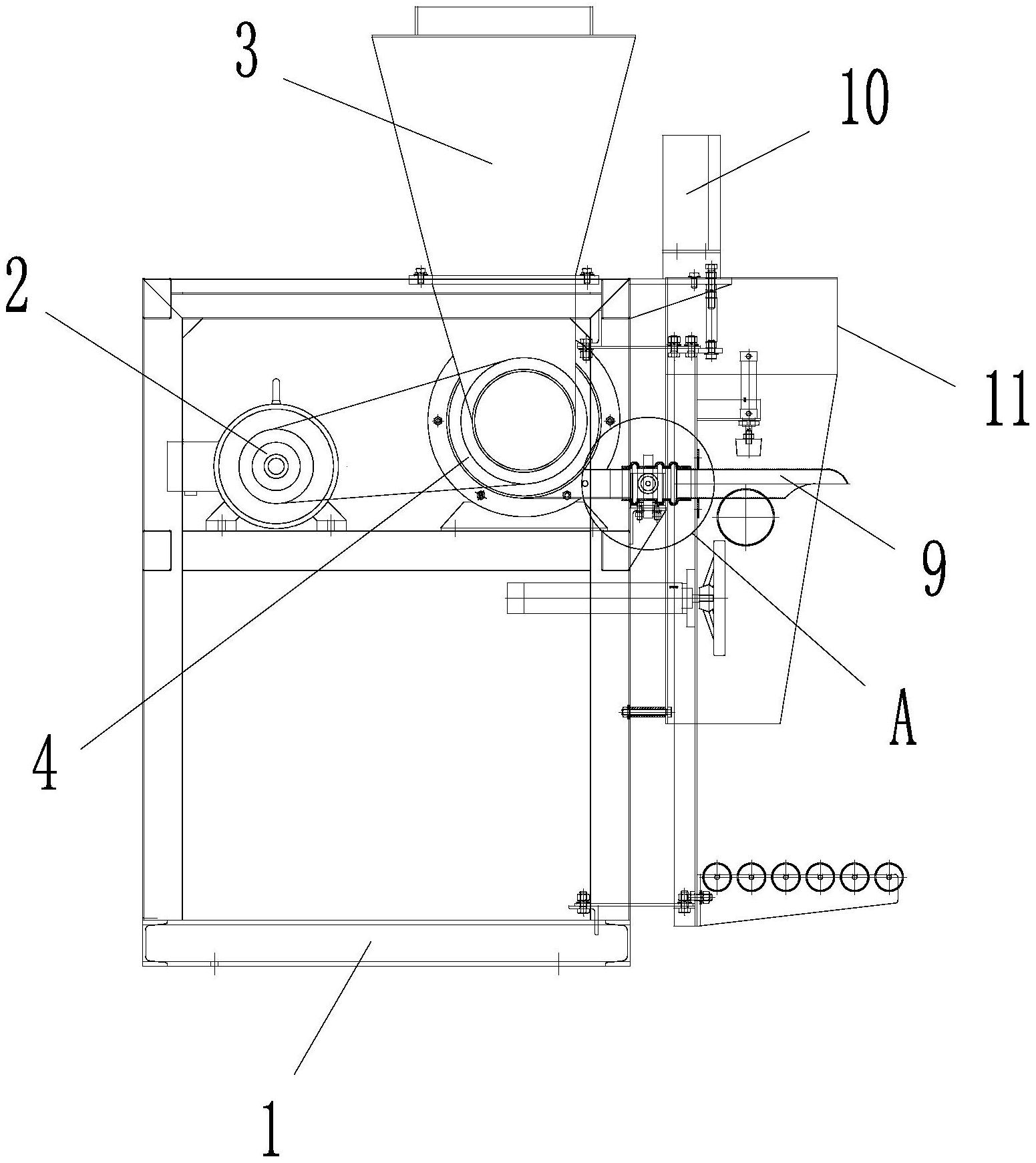
本实用新型涉及一种新型粉料包装机,它包括机架,所述机架上设置有电机,所述电机通过皮带连接有输送轴,所述输送轴通过轴承连接有输送筒,所述输送筒的上端连接有料桶,所述输送筒的侧面设置有连接筒,所述连接筒的外侧面设置有密封套,所述密封套连接有出料筒,所述连接筒的右端与出料筒接触连接,且外侧面均连接着密封套,所述机架连接有固定角铁,所述固定角铁通过螺栓固定有连接板,所述连接板与设置在密封套的下端面,所述连接板的右端连接有支撑架,所述支撑架上设置出料筒,且用于支撑出料筒;本实用新型具有密封性能好、结构合理的优点。


