授权公布号:CN113208476B
一种便于挤出的牙膏
有效
申请
2021-05-11
申请公布
2021-08-06
授权
2024-03-22
预估到期
2041-05-11
| 申请号 | CN202110510045.3 |
| 申请日 | 2021-05-11 |
| 申请公布号 | CN113208476A |
| 申请公布日 | 2021-08-06 |
| 授权公布号 | CN113208476B |
| 授权公告日 | 2024-03-22 |
| 分类号 | A47K5/18;B65B69/00;B65D35/24;B65D35/28;B65D43/26 |
| 分类 | 家具;家庭用的物品或设备;咖啡磨;香料磨;一般吸尘器; |
| 申请人名称 | 中山市多美化工有限公司 |
| 申请人地址 | 广东省中山市横栏镇茂辉工业区益辉二路 |
专利法律状态
2024-03-22
授权
状态信息
授权
2024-03-15
专利申请权、专利权的转移
状态信息
专利申请权的转移;IPC(主分类):A47K5/18;登记生效日:20240229;变更事项:申请人;变更前:汪爽爽;变更后:中山市多美化工有限公司;变更事项:国家或地区;变更前:中国;变更后:中国;变更事项:地址;变更前:233000 安徽省蚌埠市高新技术产业区长征路985号;变更后:528400 广东省中山市横栏镇茂辉工业区益辉二路
2021-08-24
实质审查的生效
状态信息
实质审查的生效;IPC(主分类):A47K5/18;申请日:20210511
2021-08-06
公布
状态信息
公布
摘要
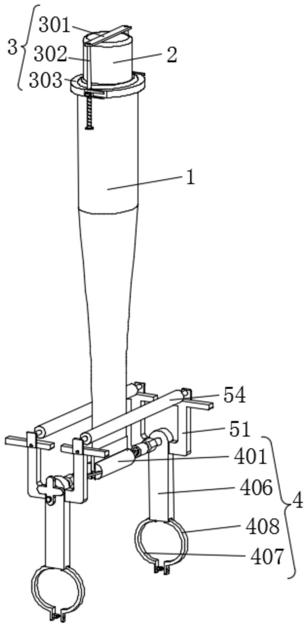
本发明提供一种便于挤出的牙膏,涉及牙膏技术领域,包括牙膏本体和便捷结构,所述牙膏本体的表面放置有盖子,所述盖子远离牙膏本体的一端设有便捷结构,所述便捷结构包括连接杆,所述连接杆的表面和盖子固定连接,所述连接杆靠近盖子的一端固定连接有圆杆,所述圆杆的圆弧面滑动连接有矩形块,所述牙膏本体靠近盖子的一端固定连接有套环,所述矩形块和套环活动连接,所述套环相对于矩形块的位置固定连接有框体,所述矩形块靠近框体的一端固定连接有转轴。本发明,解决了传统的牙膏盖和牙膏之间是采用螺纹连接,导致在每次使用时都需要反复来拧盖子,而盖子拧的不结实容易弄丢,从而导致牙膏无法长时间存放的问题。


