授权公布号:CN109997505B
一种高效的玉米收获机割台用摘穗机构
有效
申请
2019-05-08
申请公布
2019-07-12
授权
2023-09-01
预估到期
2039-05-08
| 申请号 | CN201910381824.0 |
| 申请日 | 2019-05-08 |
| 申请公布号 | CN109997505A |
| 申请公布日 | 2019-07-12 |
| 授权公布号 | CN109997505B |
| 授权公告日 | 2023-09-01 |
| 分类号 | A01D45/02 |
| 分类 | 农业;林业;畜牧业;狩猎;诱捕;捕鱼; |
| 申请人名称 | 洛阳福格森机械装备有限公司 |
| 申请人地址 | 河南省洛阳市洛阳空港产业集聚区(孟津县常袋镇半坡村) |
专利法律状态
2023-09-01
授权
状态信息
授权
2019-07-12
公布
状态信息
公布
摘要
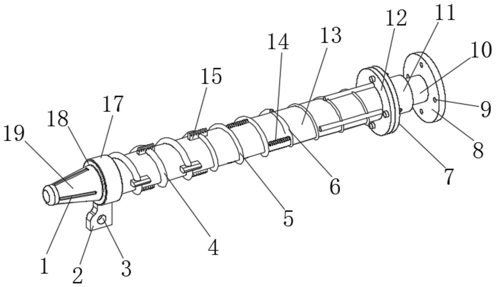
本发明公开了一种高效的玉米收获机割台用摘穗机构,包括中空柱体,所述中空柱体的右端面设有第二法兰盘,第二法兰盘通过设置在其右端面的定位螺栓固定连接有第一法兰盘,第一法兰盘的右侧面中部设有套轴,套轴通过设置在其内侧面的轴承转动连接有中空连接轴,中空连接轴的右端面设有第三法兰盘,本高效的玉米收获机割台用摘穗机构,使用时果穗啃伤少、破碎率低、能撕去部分果穗苞叶,达到很好的摘穗效果,拉茎螺旋筋直径分段变化,摘穗效率高,不损伤果穗,拉茎速度快,径向筋的设置可以有效提高玉米叶的下拉速度,锯齿形拉茎钉的设置可以有效减少了茎秆和摘穗辊之间相互滑动,同时可以提高拉茎速度,有效预防堵塞。


