授权公布号:CN110979644B
一种无人机起落架
有效
申请
2019-12-20
申请公布
2020-04-10
授权
2023-03-07
预估到期
2039-12-20
| 申请号 | CN201911329970.5 |
| 申请日 | 2019-12-20 |
| 申请公布号 | CN110979644A |
| 申请公布日 | 2020-04-10 |
| 授权公布号 | CN110979644B |
| 授权公告日 | 2023-03-07 |
| 分类号 | B64C25/62 |
| 分类 | 飞行器;航空;宇宙航行; |
| 申请人名称 | 洛阳福格森机械装备有限公司 |
| 申请人地址 | 河南省洛阳市洛阳空港产业集聚区(孟津县常袋镇半坡村) |
专利法律状态
2023-03-07
授权
状态信息
授权
2020-04-10
公布
状态信息
公布
摘要
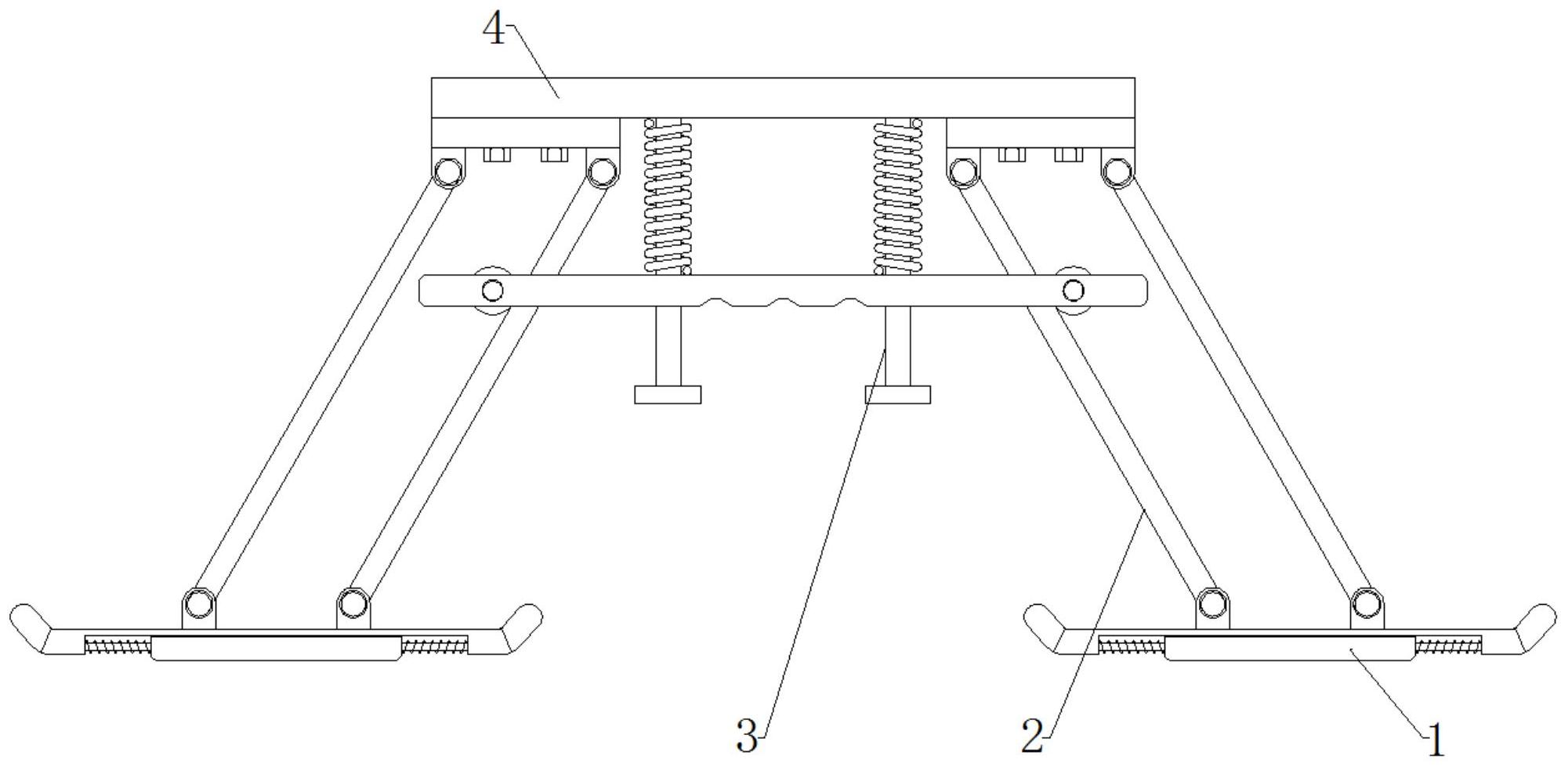
本发明公开了一种无人机起落架,包括安装座和两组支撑组件,两组所述支撑组件对称设置于所述安装座底部两侧,两组所述支撑组件顶部均铰接有两条相互平行的支臂,且该支臂顶部铰接于所述安装座底部,所述支撑组件和所述安装座配合两条相互平行的支臂共同组成一平行四边形结构,所述安装座底部中心设置有减震组件。有益效果在于:本发明通过设置带有弹簧减震作用的无人机起落架,在无人机落地过程中将设备重力下压到两侧支臂位置,从而下压支臂使两侧支撑结构以平行四边形状态产生变形,保证起落架底部支撑组件始终与安装座处于相互平行状态,且增加两侧支撑组件的间距以增加起落架支撑稳定性。


