授权公布号:CN218951218U
负压式污泥处理机
有效
申请
2022-10-31
申请公布
1970-01-01
授权
2023-05-02
预估到期
2032-10-31
| 申请号 | CN202222876454.8 |
| 申请日 | 2022-10-31 |
| 授权公布号 | CN218951218U |
| 授权公告日 | 2023-05-02 |
| 分类号 | C02F11/121;C02F11/125 |
| 分类 | 水、废水、污水或污泥的处理; |
| 申请人名称 | 广西三零一机械有限公司 |
| 申请人地址 | 广西壮族自治区玉林市陆川火车站货场西边 |
专利法律状态
2023-05-02
授权
状态信息
授权
摘要
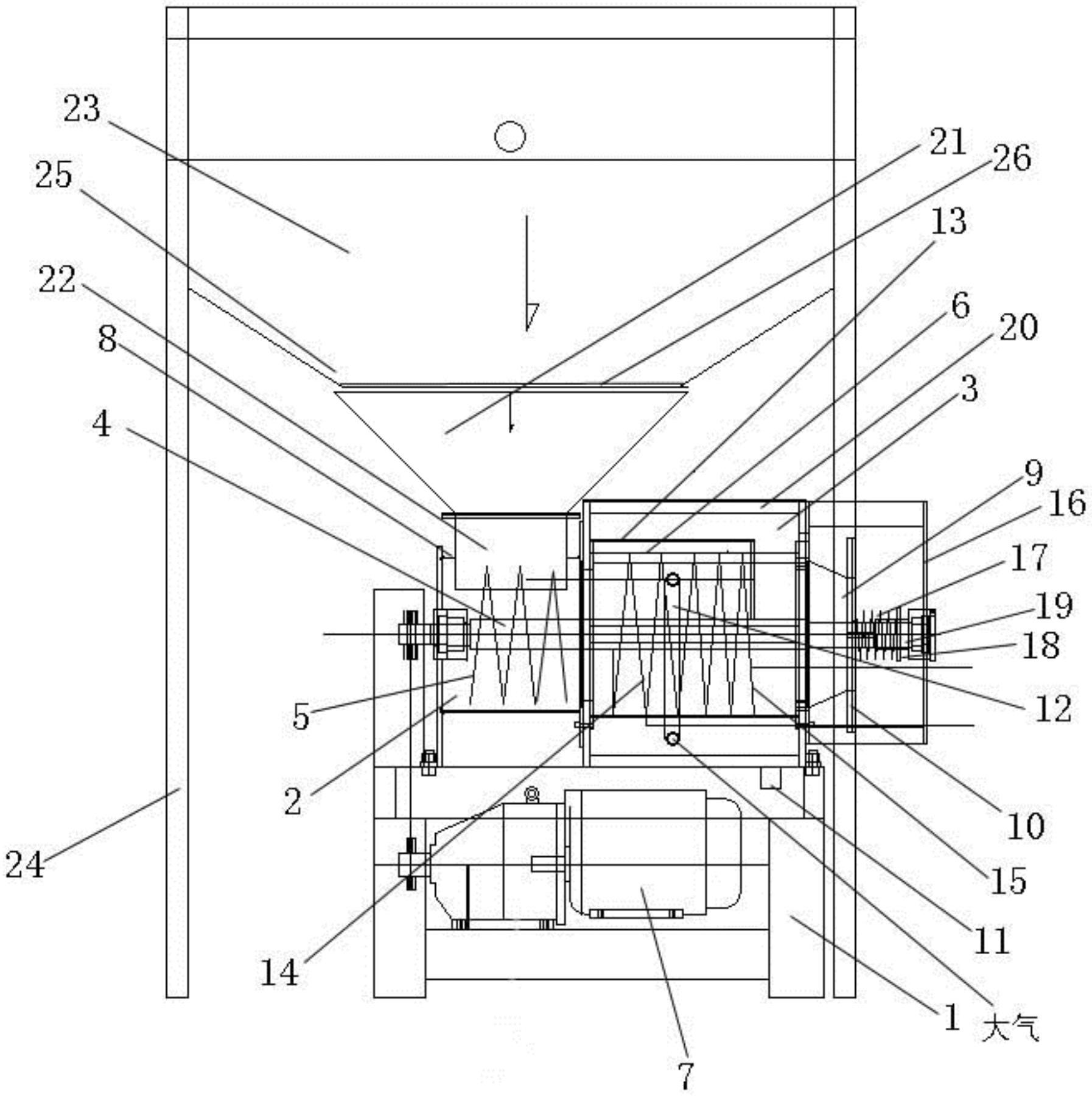
本实用新型旨在提供一种负压式污泥处理机,包括机座、驱动机构、输送仓、压榨仓、转动轴、输送螺旋叶片、筛网筒、压榨螺旋叶片总成;机座顶面上沿由左到右的方向依次设置输送仓和压榨仓,输送仓的顶部设有进料口;压榨仓的出料口设于其右侧,其上设有封盖;转动轴的左端或右端通过传动装置与驱动机构;位于输送仓内的转动轴上设置输送螺旋叶片,位于压榨仓内的转动轴上设有压榨螺旋叶片总成;筛网筒与压榨螺旋叶片总成间隙配合;压榨仓底部设有接口,通过管路与连接;输送仓的上部或中部设有进气管,该进气管连通大气。本实用新型结构设计科学合理,维护成本低,处理效率高,脱水效果好。


