授权公布号:CN217726315U
一种饲料防混装置
有效
申请
2021-12-30
申请公布
1970-01-01
授权
2022-11-04
预估到期
2031-12-30
| 申请号 | CN202123407614.6 |
| 申请日 | 2021-12-30 |
| 授权公布号 | CN217726315U |
| 授权公告日 | 2022-11-04 |
| 分类号 | B07C5/36;B07C5/38;B65B63/00 |
| 分类 | 将固体从固体中分离;分选; |
| 申请人名称 | 正大康地农牧集团有限公司 |
| 申请人地址 | 广东省深圳市南山区蛇口工业四路6号 |
专利法律状态
2022-11-04
授权
状态信息
授权
摘要
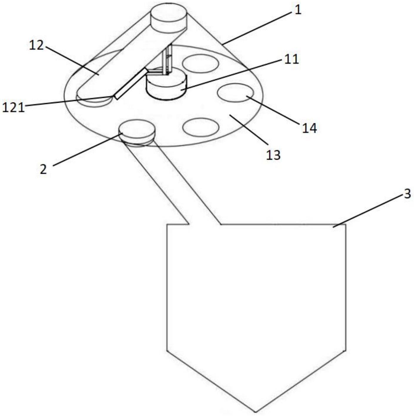
本申请提供了一种饲料防混装置,包括旋转分配器、密封盖以及成品桶;所述旋转分配器的一端通过一管道与外部倒料设备相连,所述旋转分配器的另一端通过一管道与所述成品桶相连,所述密封盖设置在所述旋转分配器内并套设在所述管道上,本申请通过上述结构,通过设置密封盖套设在旋转分配器内的管道上的方式实现了可通过密封盖将不需要下料的管道进行密封,从而防止成品桶内出现混料,解决了现有技术当中当旋转分配器旋转时颗粒料容易掉入到成品桶内储存的浓缩料中产生混料,导致对饲料成品的质量造成影响的问题,提升了饲料成品的生产质量。


