授权公布号:CN212520056U
一种联合收割机振动筛
有效
申请
2020-04-21
申请公布
1970-01-01
授权
2021-02-12
预估到期
2030-04-21
| 申请号 | CN202020601050.6 |
| 申请日 | 2020-04-21 |
| 授权公布号 | CN212520056U |
| 授权公告日 | 2021-02-12 |
| 分类号 | A01F12/44 |
| 分类 | 农业;林业;畜牧业;狩猎;诱捕;捕鱼; |
| 申请人名称 | 湖州丰源农业装备制造有限公司 |
| 申请人地址 | 浙江省湖州市吴兴区八里店镇工业园区 |
专利法律状态
2021-02-12
授权
状态信息
授权
摘要
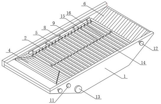
本实用新型涉及一种联合收割机振动筛联合收割机技术领域,包括筛箱、上筛和下筛,筛箱前部安装着阶梯式导向板、中部安装着上筛、尾部安装着均布排列着的纵向清选筛条,上筛是由横向清选筛条均布排列着构成,筛箱内上筛的下方安装着下筛,横向清选筛条的两端均安装有C型金属件,筛箱中部内侧均固定着密封板,C型金属件的一端与所在端的密封板连接,C型金属件的另一端与所在端密封板下方的拉杆连接。本实用新型的一种联合收割机振动筛,结构简单,增加了横向清选筛条的倾斜角度控制装置,有利于谷物在振动过程中下落,有利于谷物和秸秆的分离,提升工作效率及分离效果,另外密封板保证了筛箱四周没有大间隙提升了筛箱两侧的密闭性。


