授权公布号:CN211726405U
一种涂布机防漏涂剔除装置
有效
申请
2019-12-19
申请公布
1970-01-01
授权
2020-10-23
预估到期
2029-12-19
| 申请号 | CN201922292419.X |
| 申请日 | 2019-12-19 |
| 授权公布号 | CN211726405U |
| 授权公告日 | 2020-10-23 |
| 分类号 | B05C11/10 |
| 分类 | 一般喷射或雾化;对表面涂覆液体或其他流体的一般方法〔2〕; |
| 申请人名称 | 上海宝钢包装股份有限公司 |
| 申请人地址 | 上海市宝山区罗东路1818号 |
专利法律状态
2020-10-23
授权
状态信息
授权
摘要
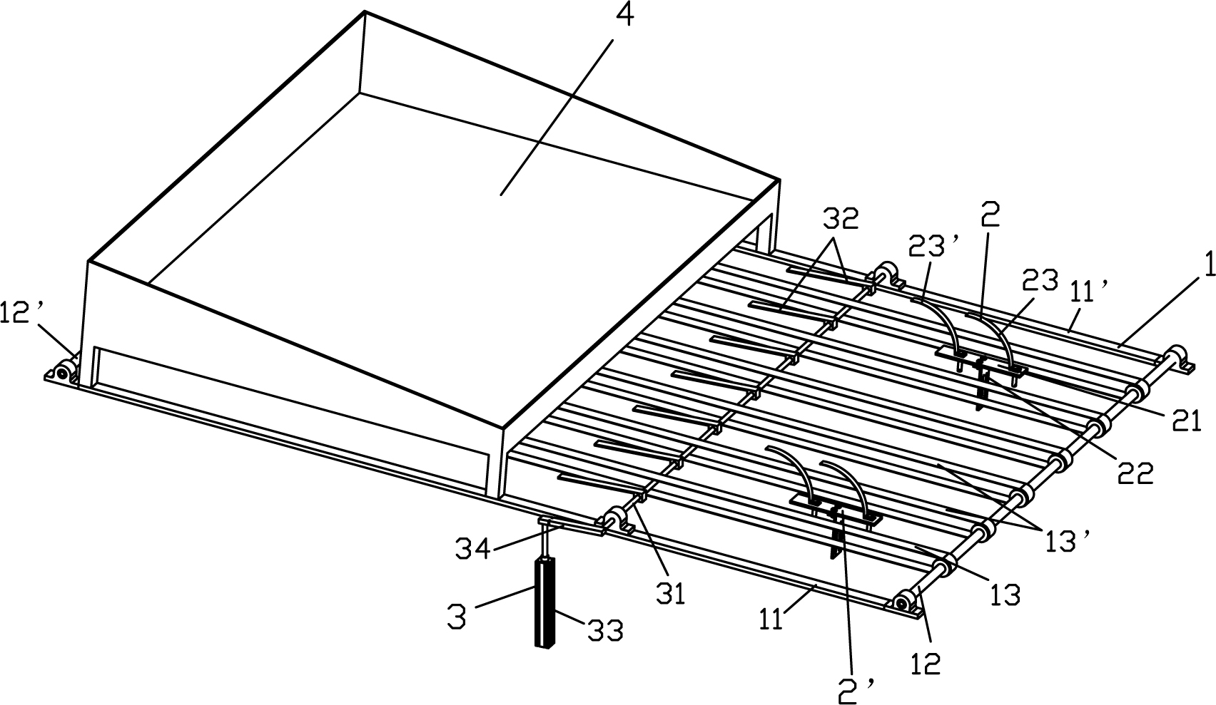
一种涂布机防漏涂剔除装置,包括:输送架,为一框架结构,包括两根固定杆及两根转轴;两根转轴上对应设置若干皮带轮及输送皮带;至少一个漏涂检测装置,设于输送架中输送皮带中间,其包括:绝缘块,沿输送皮带轴向设置于所述输送架输送皮带旁侧;绝缘块底面中央连接一底座;两弹簧钢片,沿输送皮带轴向设置于绝缘块上;漏涂马口铁剔除机构,包括:驱动轴,两端通过轴承座连接于两根固定杆上端面中部;沿驱动轴轴向间隔设若干拨杆;驱动气缸,其活塞杆端部连接驱动轴的一端;控制器,包括接触器,弹簧钢片通过电线接入控制器中的接触器的常开端及电源;驱动气缸连接该控制器。本实用新型可以降低涂布机发生漏涂的几率,提高产品质量,同时降低人工检测成本。


