授权公布号:CN219536799U
一种种子生产拌药装置
有效
申请
2023-05-17
申请公布
1970-01-01
授权
2023-08-18
预估到期
2033-05-17
| 申请号 | CN202321188382.6 |
| 申请日 | 2023-05-17 |
| 授权公布号 | CN219536799U |
| 授权公告日 | 2023-08-18 |
| 分类号 | A01C1/06;B01F35/75 |
| 分类 | 农业;林业;畜牧业;狩猎;诱捕;捕鱼; |
| 申请人名称 | 河南省吨源种业有限公司 |
| 申请人地址 | 河南省驻马店市纬五路东段 |
专利法律状态
2023-08-18
授权
状态信息
授权
摘要
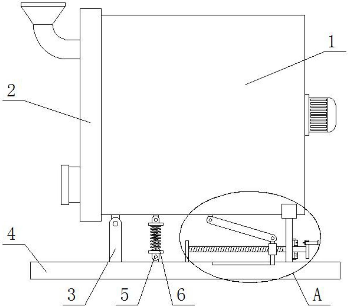
本实用新型属于种子生产技术领域,尤其是一种种子生产拌药装置,针对现有技术中存在搅拌箱为水平设置,而出料管位置不具有辅助出料的结构,所以在排料的过程中,种子会堆积在搅拌箱的底部内壁上,导致种子难以排出,因此还存在不便于对种子进行出料,降低了工作效率的问题,现提出如下方案,其包括搅拌箱和箱盖,所述箱盖设置在搅拌箱的左侧,箱盖上开设有进料口和出料口,搅拌箱的底部转动连接有支撑杆,支撑杆的底端固定连接有底座,底座的顶部固定连接有固定杆,本实用新型通过简单的结构实现了对搅拌箱进行翻转倾斜,能够便于种子向出料口进行排料,避免种子堆积在搅拌箱的底部内壁上,促进种子向外排出,实用性强。


