授权公布号:CN208482715U
生产包装用涂漆钢带的沉没差速浸漆辊
有效
申请
2018-06-07
申请公布
1970-01-01
授权
2019-02-12
预估到期
2028-06-07
| 申请号 | CN201820877071.3 |
| 申请日 | 2018-06-07 |
| 授权公布号 | CN208482715U |
| 授权公告日 | 2019-02-12 |
| 分类号 | B05C3/02;B05C13/02 |
| 分类 | 一般喷射或雾化;对表面涂覆液体或其他流体的一般方法〔2〕; |
| 申请人名称 | 鞍山发蓝股份公司 |
| 申请人地址 | 辽宁省鞍山市千山区通海大道566号 |
专利法律状态
2019-02-12
授权
状态信息
授权
摘要
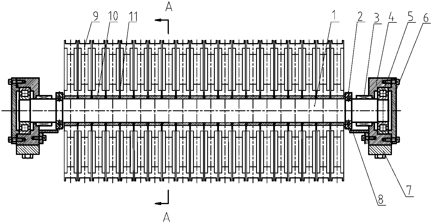
本实用新型涉及一种生产包装用涂漆钢带的沉没差速浸漆辊,包括浸漆辊轴,设置在浸漆辊轴上的钢带沉没辊,设置在浸漆辊轴上,钢带沉没辊两端的挡件,设置在浸漆辊轴端头的轴承垫板,轴承盒、滚动轴承、端盖和密封圈,其特征在于所述的钢带沉没辊由套装在浸漆辊轴上的若干个浸漆辊片,设置在浸漆辊轴与浸漆辊片之间的耐磨树脂套所组成,在每两个相邻的浸漆辊片之间设有隔垫。其优点是:由于钢带沉没辊采用了由若干个浸漆辊片组合而成的设计方案,使每个转向辊片都可以单独转动,生产中每一条钢带都可以按照自己的运行速度单独浸漆,有效地避免了在生产过程中,由于钢带松紧不一,使钢带在漆槽中跑偏互相挤压,影响钢带表面的涂漆质量的问题。


