授权公布号:CN216887640U
可一体成型的包装盒片材结构
有效
申请
2022-02-21
申请公布
1970-01-01
授权
2022-07-05
预估到期
2032-02-21
| 申请号 | CN202220344011.1 |
| 申请日 | 2022-02-21 |
| 授权公布号 | CN216887640U |
| 授权公告日 | 2022-07-05 |
| 分类号 | B65D5/08 |
| 分类 | 输送;包装;贮存;搬运薄的或细丝状材料; |
| 申请人名称 | 上海新通联包装股份有限公司 |
| 申请人地址 | 上海市宝山区罗北路1238号 |
专利法律状态
2022-07-05
授权
状态信息
授权
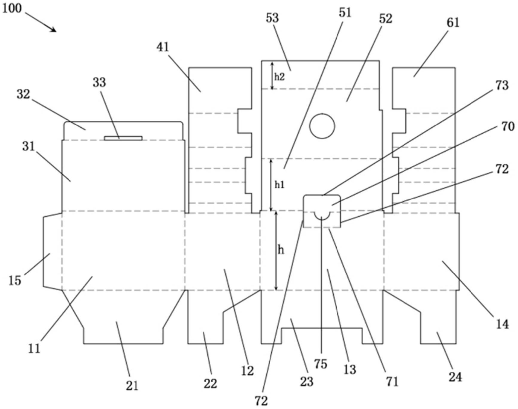
摘要
本实用新型涉及包装技术领域,提供一种可一体成型的包装盒片材结构,通过第三侧壁的上端设置有可形成下部缓冲层结构的所述第一副底面、第二副底面和第三副底面,以及分别从第二侧壁和第三侧壁的上端向上延伸设置的可分别形成第一半部上缓冲结构和第二半部上缓冲结构的第一上部保护翼片和第二上部保护翼片,使得采用本实用新型所提出的片材结构折叠而成的包装盒,可以对包装盒内的产品的产品提供足够的缓冲,同时形成的上下两部分的缓冲结构由于具有多层折叠结构因此具有较高的强度,从而可以对产品提供稳定的支撑和保护;且结构简单、成型方便快捷,可以节约成本和人工;可重复利用,绿色环保。


