授权公布号:CN214056924U
柔版自动贴版机
有效
申请
2020-12-17
申请公布
1970-01-01
授权
2021-08-27
预估到期
2030-12-17
| 申请号 | CN202023062831.1 |
| 申请日 | 2020-12-17 |
| 授权公布号 | CN214056924U |
| 授权公告日 | 2021-08-27 |
| 分类号 | B41F27/12 |
| 分类 | 印刷;排版机;打字机;模印机〔4〕; |
| 申请人名称 | 潍坊东航印刷科技股份有限公司 |
| 申请人地址 | 山东省潍坊市高新技术开发区五洲街388号 |
专利法律状态
2021-08-27
授权
状态信息
授权
摘要
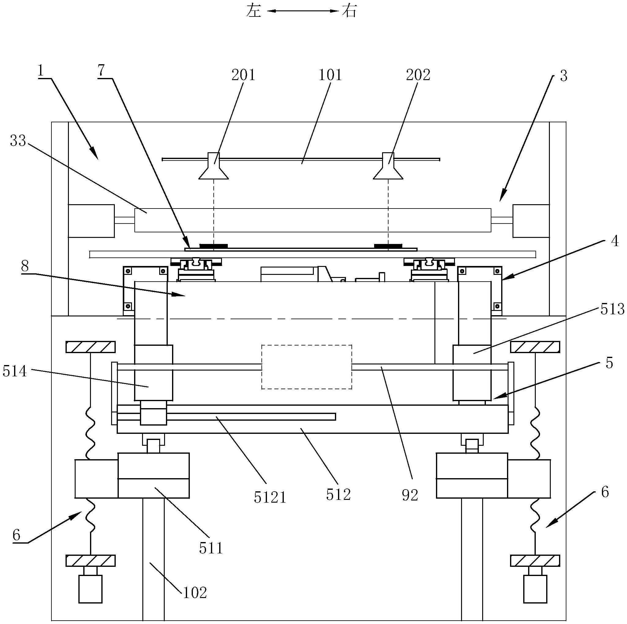
本实用新型公开了一种柔版自动贴版机,柔版自动贴版机包括自上往下设置的拍摄装置、压版装置、柔版对位装置、版辊承托及驱动装置、升降装置;柔版对位装置用于承托平板状的柔版,以及调节柔版的位置,使版标与拍摄装置的镜头对准;压版装置用于柔版对位后将柔版压在版辊上;版辊承托及驱动装置用于承托版辊,并且在贴版时使版辊转动;升降装置在贴版时驱动版辊承托及驱动装置上升,退版时驱动版辊承托及驱动装置下降;本实用新型的柔版自动贴版机实现了自动对标、贴版、退版,提高了贴版精度和贴版效率,尤其能满足宽幅柔版印刷机的自动贴版需要。


