授权公布号:CN214563853U
封闭式刮墨装置
有效
申请
2021-03-19
申请公布
1970-01-01
授权
2021-11-02
预估到期
2031-03-19
| 申请号 | CN202120570423.2 |
| 申请日 | 2021-03-19 |
| 授权公布号 | CN214563853U |
| 授权公告日 | 2021-11-02 |
| 分类号 | B41F31/04;B41F31/00;B41F31/16 |
| 分类 | 印刷;排版机;打字机;模印机〔4〕; |
| 申请人名称 | 潍坊东航印刷科技股份有限公司 |
| 申请人地址 | 山东省潍坊市高新技术开发区五洲街388号 |
专利法律状态
2021-11-02
授权
状态信息
授权
摘要
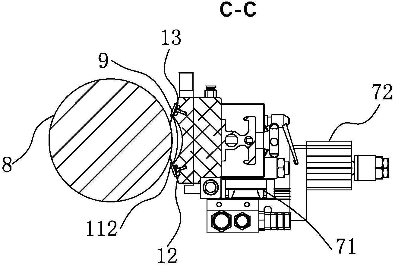
本实用新型涉及一种封闭式刮墨装置,所述封闭式刮墨装置包括安装于刀体上的刮刀,所述刮刀包括上刮刀和下刮刀,所述刀体的两端设置有密封件,所述刀体固定安装在回转支撑架上,所述刀体上设置有刮刀定位面,所述刮刀定位面上设置有凹槽,所述凹槽内嵌设有磁铁,所述上刮刀、所述下刮刀均通过刮刀压条夹压于所述刮刀定位面,所述刮刀压条是具有磁性的刮刀压条,所述刮刀压条与所述磁铁的位置对应。本实用新型的刮墨装置结构简单,使用方便,提高了工作效率。


