授权公布号:CN216942295U
柔版印刷机除尘结构
有效
申请
2021-02-08
申请公布
1970-01-01
授权
2022-07-12
预估到期
2031-02-08
| 申请号 | CN202120352255.X |
| 申请日 | 2021-02-08 |
| 授权公布号 | CN216942295U |
| 授权公告日 | 2022-07-12 |
| 分类号 | B41F23/00;B41F22/00 |
| 分类 | 印刷;排版机;打字机;模印机〔4〕; |
| 申请人名称 | 潍坊东航印刷科技股份有限公司 |
| 申请人地址 | 山东省潍坊市高新技术开发区五洲街388号 |
专利法律状态
2022-07-12
授权
状态信息
授权
摘要
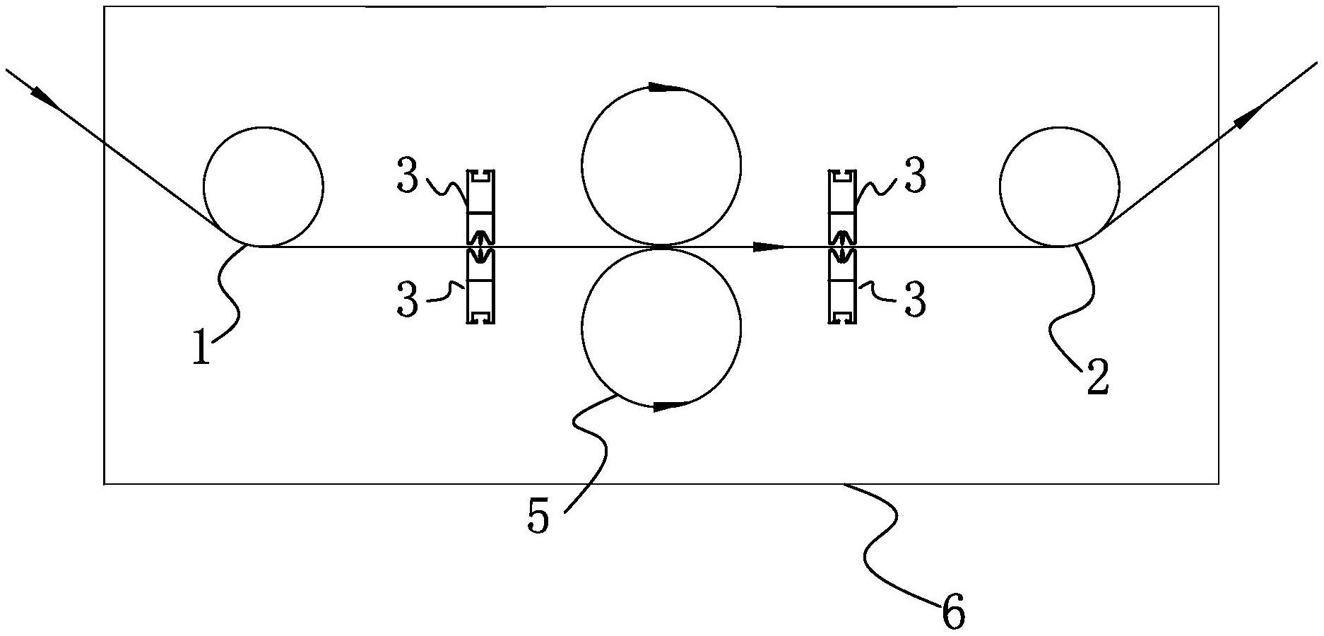
本实用新型涉及一种柔版印刷机除尘结构,所述除尘结构包括:防尘罩,所述防尘罩内设置有纸张导入辊和纸张导出辊,所述纸张导入辊和所述纸张导出辊之间设置有静电消除器和动力辊;所述防尘罩上对应所述纸张导入辊的安装位置设置有进纸口,对应所述纸张导出辊的安装位置设置有出纸口,所述防尘罩上设置有抽风口,所述抽风口位于所述静电消除器的消除范围内。本实用新型的除尘结构,结构简单,对纸张无损害,且除尘效果更佳。


