授权公布号:CN211894853U
一种上料机自动运纸小车机构
有效
申请
2020-01-09
申请公布
1970-01-01
授权
2020-11-10
预估到期
2030-01-09
| 申请号 | CN202020043814.4 |
| 申请日 | 2020-01-09 |
| 授权公布号 | CN211894853U |
| 授权公告日 | 2020-11-10 |
| 分类号 | B65G35/00;B65G47/34 |
| 分类 | 输送;包装;贮存;搬运薄的或细丝状材料; |
| 申请人名称 | 上海今昌纸箱机械制造有限公司 |
| 申请人地址 | 上海市奉贤区四团镇新四平公路965号 |
专利法律状态
2020-11-10
授权
状态信息
授权
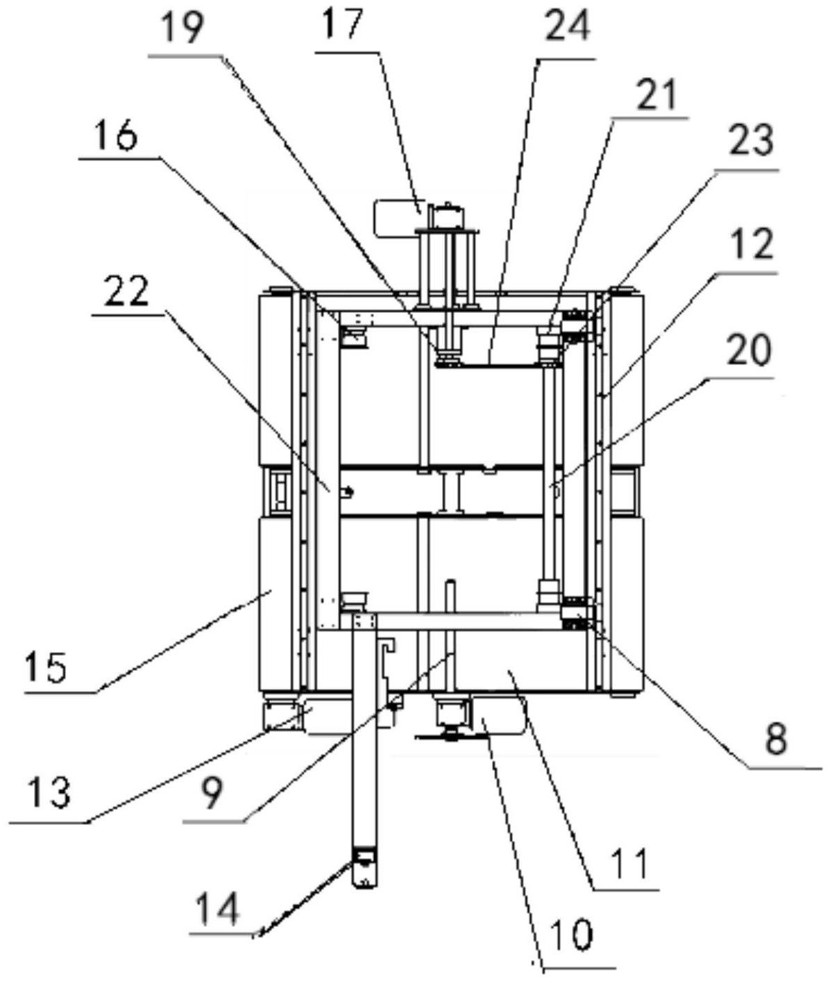
摘要
本实用新型公开的一种上料机自动运纸小车机构,包括:一下小车车体架,在下小车车体架上设置有上机体横移轨道;一安装在下小车车体架上带动下小车车体架前后行走的下小车车体架行走机构;一可横向移动的安装在上机体横移轨道上的上移动小车机体架;安装在上移动小车机体架和下小车车体架上带动移动小车机体架在上机体横移轨道上横向移动的上移动小车机体架横移机构;安装在上移动小车机体架上的皮带输送机构。本实用新型的上料机自动运纸小车机构能够将纸板运送到上料机的位置并能够调节纸板对准上料机的输送叉脚,然后通过皮带输送机构中的传送皮带送到输送叉脚上,降低了操作工人的劳动强度,提高了生产效率,降低了人力成本。


