授权公布号:CN220142832U
一种油料过滤装置
有效
申请
2023-06-26
申请公布
1970-01-01
授权
2023-12-08
预估到期
2033-06-26
| 申请号 | CN202321628880.8 |
| 申请日 | 2023-06-26 |
| 授权公布号 | CN220142832U |
| 授权公告日 | 2023-12-08 |
| 分类号 | B01D36/04;B01D29/15;B01D29/96;B01D35/30 |
| 分类 | 一般的物理或化学的方法或装置; |
| 申请人名称 | 中国土木工程集团有限公司 |
| 申请人地址 | 北京市海淀区北蜂窝4号 |
专利法律状态
2023-12-08
授权
状态信息
授权
摘要
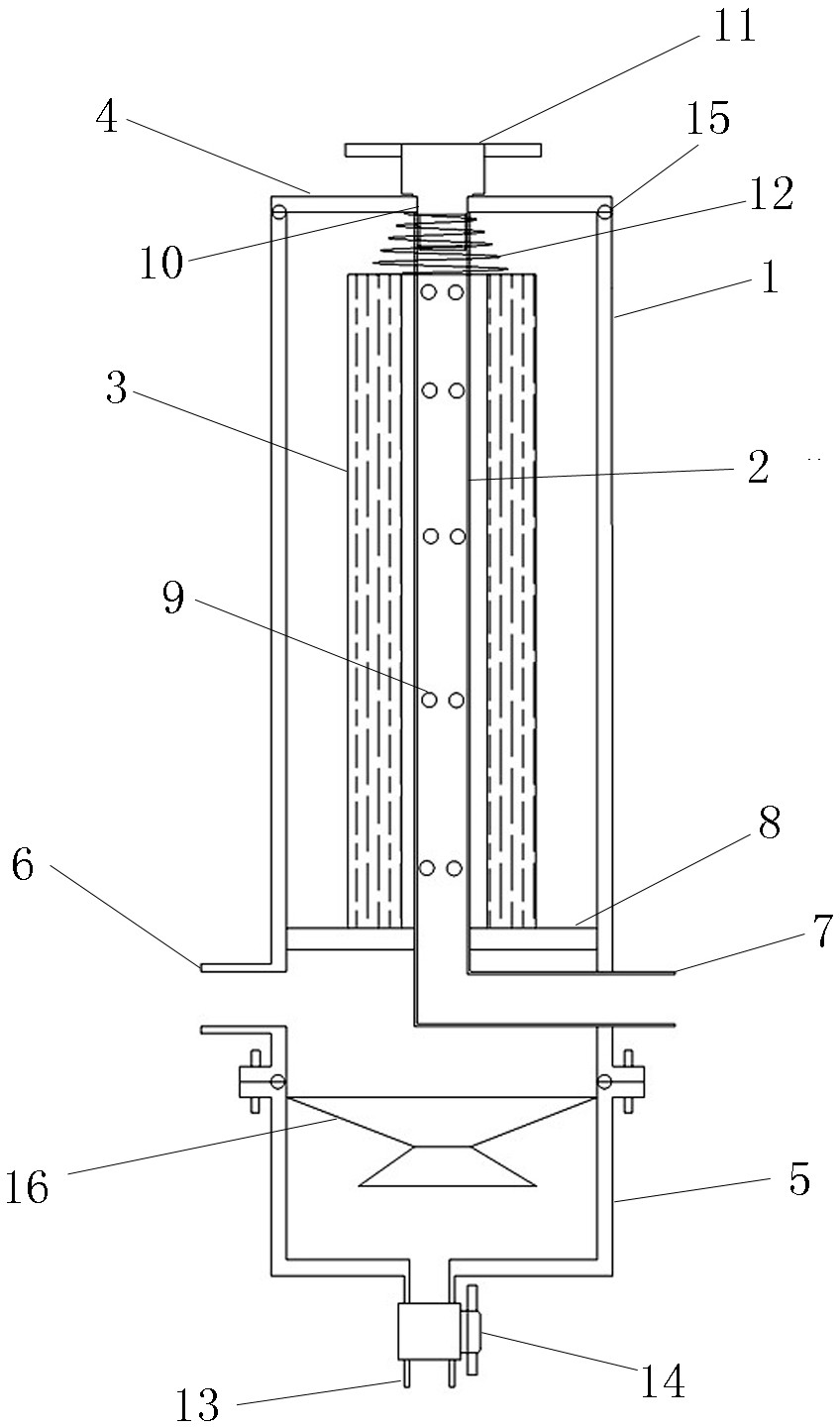
本实用新型提供一种油料过滤装置,包括外壳体、L型油管、油料滤芯、密封盖、沉淀器;外壳体为圆筒状,外壳体顶面设置密封盖,底面设置沉淀器;外壳体底部外侧面设置进油口和出油口;L型油管设置在外壳体内部,L型油管的竖部位于外壳体的中心轴上,L型油管的横部与出油口固定连接;油料滤芯套设在L型油管的竖部,油料滤芯底面设置有用于承托油料滤芯的承托部件;位于油料滤芯内部的L型油管竖部的管壁上间隔开设第一圆孔;密封盖中央开设第二圆孔,第二圆孔中插接设置紧固栓,紧固栓底部和L型油管顶部螺纹连接。本实用新型能够解决方便经济地对低品质油料进行过滤的技术问题。


