授权公布号:CN106382039B
一种水泥库库顶钢网架支撑结构的施工方法
有效
申请
2015-04-21
申请公布
2017-02-08
授权
2018-07-27
预估到期
2035-04-21
| 申请号 | CN201610784036.2 |
| 申请日 | 2015-04-21 |
| 申请公布号 | CN106382039A |
| 申请公布日 | 2017-02-08 |
| 授权公布号 | CN106382039B |
| 授权公告日 | 2018-07-27 |
| 分类号 | E04H7/30;E04G21/00 |
| 分类 | 建筑物; |
| 申请人名称 | 安徽建工集团有限公司 |
| 申请人地址 | 安徽省合肥市黄山路459号安建国际大厦 |
专利法律状态
2018-07-27
授权
状态信息
授权
2017-03-08
实质审查的生效
状态信息
实质审查的生效IPC(主分类):E04H 7/30申请日:20150421
2017-02-08
公布
状态信息
公开
摘要
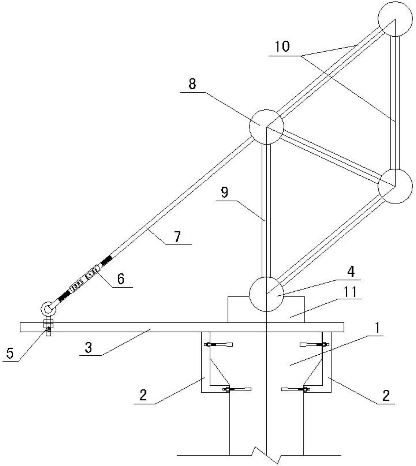
本发明公开了一种水泥库库顶钢网架支撑结构的施工方法,其特征是在水泥库库壁的圆型顶环梁上通过支撑架固定设置网架基本圈,支撑架是在水泥库库壁的圆型顶环梁上、分处在水泥库库壁的内外侧壁上对称设置型钢支腿,在圆型顶环梁上利用型钢支腿以悬臂的形式固定设置型钢悬梁;在圆型顶环梁上固定设置各支座螺栓球,呈直立的立柱固定安装在支座螺栓球上,在立柱的顶端固定安装第一层上弦螺旋球;在第一层上弦螺旋球与型钢悬梁的远端之间连接长度可调节的拉杆,利用杆件将均匀分布在熟料库壁的圆型顶环梁上的各底部支承单元进行整周连接形成网架基本圈。本发明用于实现水泥库钢屋架的快捷施工。


