授权公布号:CN106223368B
玻璃纤维预应力锚杆锚固结构、其加载装置及加载方法
有效
申请
2016-08-30
申请公布
2016-12-14
授权
2018-06-29
预估到期
2036-08-30
| 申请号 | CN201610784040.9 |
| 申请日 | 2016-08-30 |
| 申请公布号 | CN106223368A |
| 申请公布日 | 2016-12-14 |
| 授权公布号 | CN106223368B |
| 授权公告日 | 2018-06-29 |
| 分类号 | E02D31/12;E02D5/80 |
| 分类 | 水利工程;基础;疏浚; |
| 申请人名称 | 安徽建工集团有限公司 |
| 申请人地址 | 安徽省合肥市包河区芜湖路325号 |
专利法律状态
2018-06-29
授权
状态信息
授权
2018-04-10
专利申请权、专利权的转移
状态信息
专利申请权的转移IPC(主分类):E02D 31/12登记生效日:20180322变更前 申请人:安徽水利开发股份有限公司 地址:安徽省蚌埠市东海大道张公山路南侧变更后 申请人:安徽建工集团有限公司 地址:230011 安徽省合肥市包河区芜湖路325号
2018-01-26
专利申请权、专利权的转移
状态信息
专利申请权的转移IPC(主分类):E02D 31/12登记生效日:20180108变更前 申请人:安徽建工集团有限公司 地址:230001 安徽省合肥市黄山路459号安建国际大厦变更后 申请人:安徽水利开发股份有限公司 地址:安徽省蚌埠市东海大道张公山路南侧
2017-01-11
实质审查的生效
状态信息
实质审查的生效IPC(主分类):E02D 31/12申请日:20160830
2016-12-14
公布
状态信息
公开
摘要
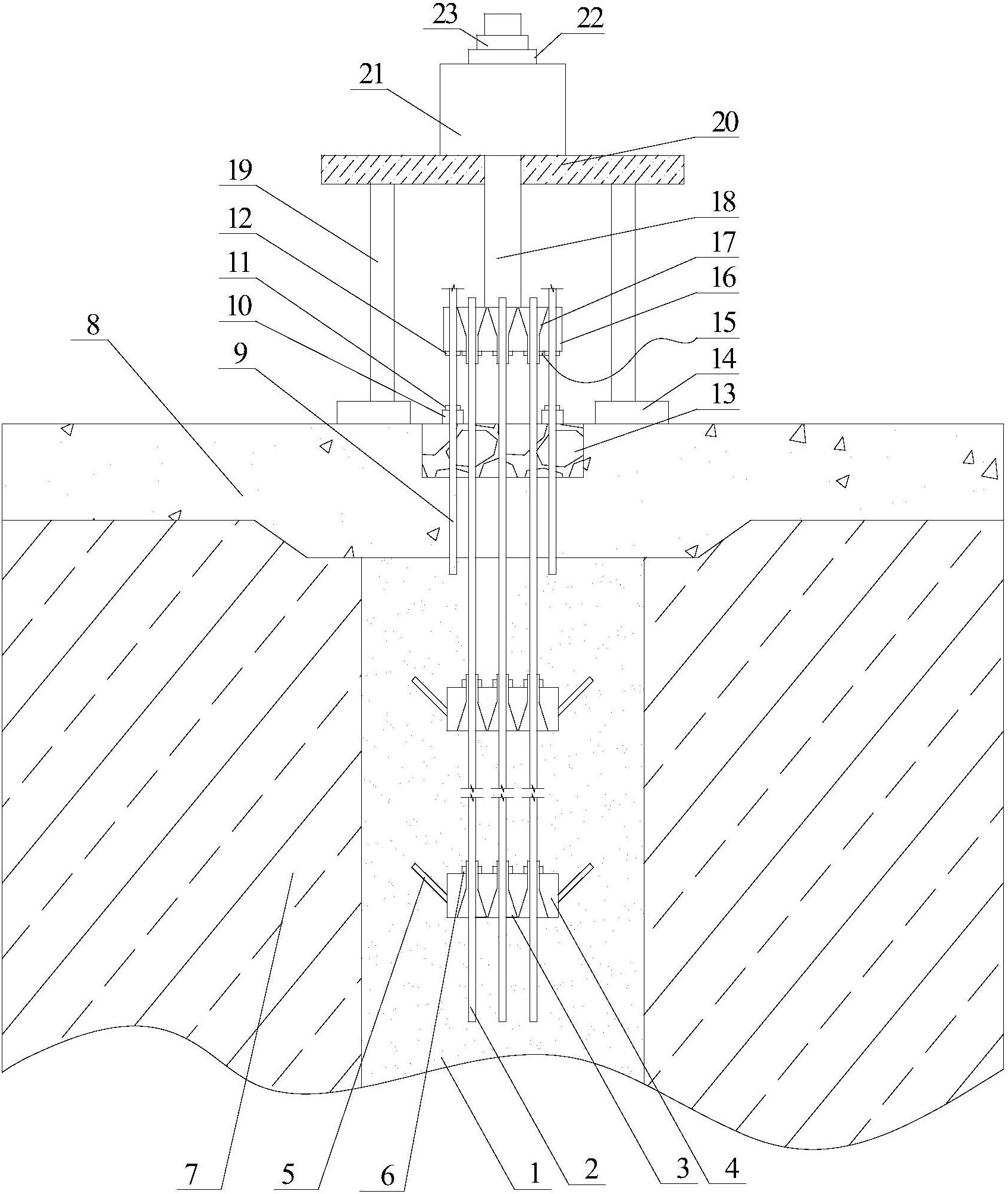
本发明公开了一种玻璃纤维预应力锚杆锚固结构、其加载装置及加载方法,其特征是设置上圆柱连接器,在其上沿圆周均匀分布且间隔固定设置弯曲钢筋和GFRP锚杆;弯曲钢筋的底端深入在桩体中,在桩体中设置有下圆柱连接器,锚杆的杆体沿圆周均匀固定夹持在下圆柱连接器上,在下圆柱连接器的外圆周面上带有倾斜向上的倒刺;本发明通过在上圆柱连接器的上方设置预应力加载机构,利用预应力加载机构传力于上圆柱连接器,并向GFRP锚杆实施预应力加载。本发明能有效避免GFRP锚杆受到剪切破坏,保证锚杆与底板钢筋的有效连接,确保底板能够获得较大的抗拔承载力,从而保证抗浮锚杆的锚固支护效果。


