授权公布号:CN216865826U
一种加固瓷砖用不锈钢干挂构件
有效
申请
2022-01-19
申请公布
1970-01-01
授权
2022-07-01
预估到期
2032-01-19
| 申请号 | CN202220181225.1 |
| 申请日 | 2022-01-19 |
| 授权公布号 | CN216865826U |
| 授权公告日 | 2022-07-01 |
| 分类号 | E04F13/22;E04F13/14 |
| 分类 | 建筑物; |
| 申请人名称 | 广州市名匠装饰设计工程有限公司 |
| 申请人地址 | 广东省广州市天河区黄埔大道富力盈隆广场1101房 |
专利法律状态
2022-07-01
授权
状态信息
授权
摘要
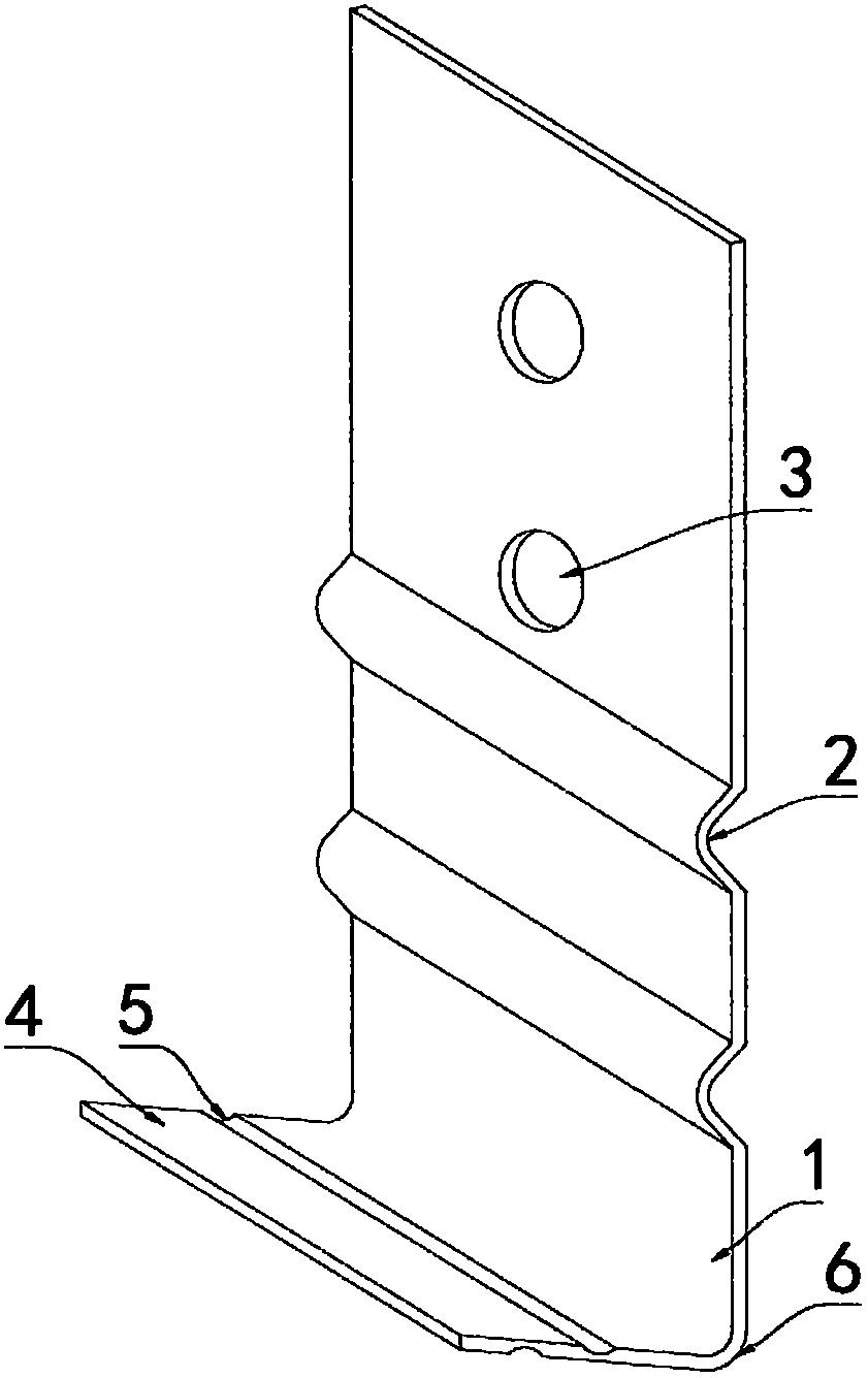
本实用新型公开了一种加固瓷砖用不锈钢干挂构件,包括固定板,所述固定板上贯穿设有两个安装孔,且所述固定板上设有两个第一弧形角,所述固定板的底部固定连接有挂板,所述挂板上设有第二弧形角,且所述挂板与固定板连接处呈75°设置,所述固定板和挂板均为不锈钢材质,且所述固定板和挂板一体成型,所述安装孔位于第一弧形角的上方。通过设置第二弧形角可以增加干挂胶的量,从而可以使第二弧形角与开槽更加稳定的连接,则设置第一弧形角,因为上侧的瓷砖会将固定板进行遮盖,因此上侧瓷砖上的水泥浆会与第一弧形角相抵,从而可以对固定板起到加固的效果。


