授权公布号:CN218541152U
一种装配式饰面一体化吊顶
有效
申请
2022-10-21
申请公布
1970-01-01
授权
2023-02-28
预估到期
2032-10-21
| 申请号 | CN202222777780.3 |
| 申请日 | 2022-10-21 |
| 授权公布号 | CN218541152U |
| 授权公告日 | 2023-02-28 |
| 分类号 | E04B9/00;E04B9/06;E04B9/20;E04B9/04;E04B9/24 |
| 分类 | 建筑物; |
| 申请人名称 | 北京港源建筑装饰工程有限公司 |
| 申请人地址 | 北京市昌平区小汤山工业园区大东流295号 |
专利法律状态
2023-02-28
授权
状态信息
授权
摘要
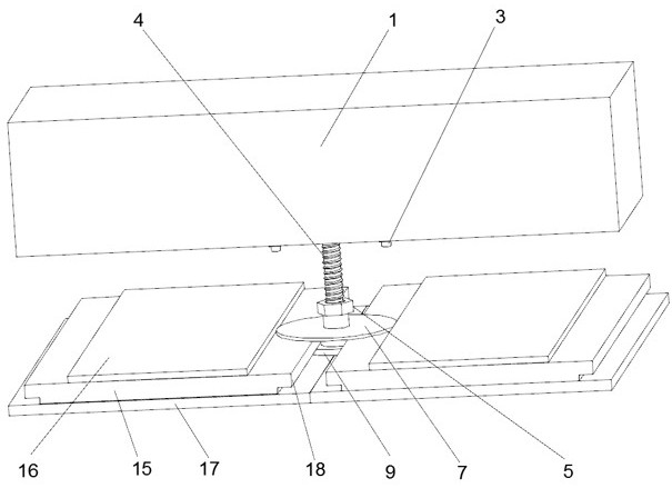
本实用新型公开了一种装配式饰面一体化吊顶,包括:调平螺栓组件、饰面组件和结构楼板,所述调平螺栓组件位于结构楼板底部,所述饰面组件挂设于调平螺栓组件底部,所述调平螺栓组件包括水平的固定板,所述固定板固定于结构楼板底部,所述固定板下侧面中部垂直焊接有第一丝杆,所述第一丝杆外侧螺纹连接有螺母,所述螺母底部固定连接有延长管;本实用新型用调平螺栓组件来代替木方龙骨或轻钢龙骨,调平螺栓组件整体结构简洁,安装以及高度调节的方便,饰面组件采用卡接的方式与调平螺栓组件固定,饰面组件中的贴膜饰面板无需后续的粉刷工作,整体操作简洁而快速,大大提高了施工效率。


