授权公布号:CN215790719U
一种室内装修用瓷砖切割设备
有效
申请
2020-12-28
申请公布
1970-01-01
授权
2022-02-11
预估到期
2030-12-28
| 申请号 | CN202023233356.X |
| 申请日 | 2020-12-28 |
| 授权公布号 | CN215790719U |
| 授权公告日 | 2022-02-11 |
| 分类号 | B28C1/22;B28C7/02;B28C7/04 |
| 分类 | 加工水泥、黏土或石料; |
| 申请人名称 | 深圳市浩天装饰有限公司 |
| 申请人地址 | 广东省深圳市南山区后海大道滨海之窗花园1号楼03层01号铺 |
专利法律状态
2022-02-11
授权
状态信息
授权
摘要
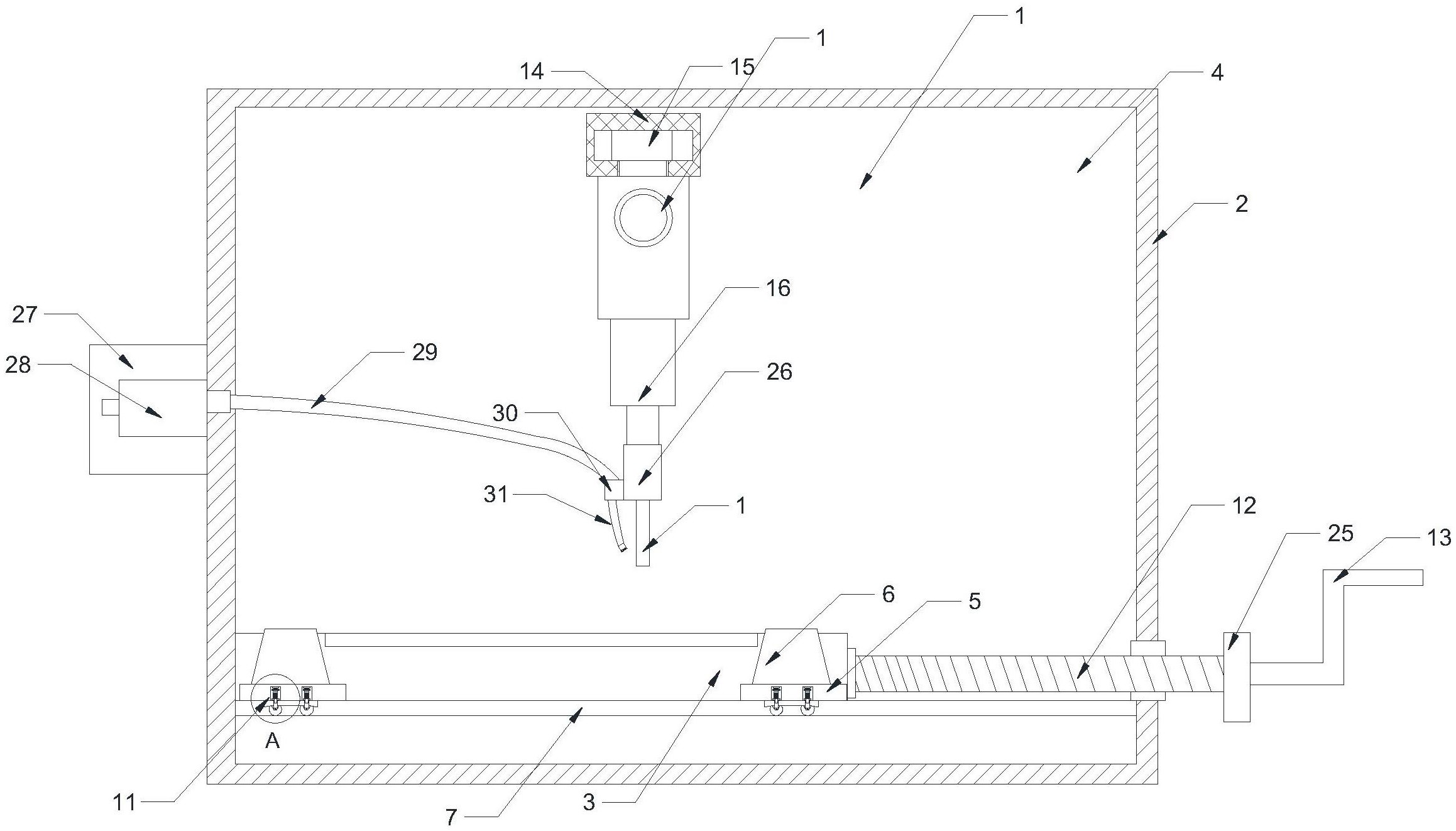
一种室内装修用瓷砖切割设备,包括切割机、箱体以及放置板,所述箱体内设置空腔,所述空腔底端放置板,所述放置板前后两侧靠近左右两侧安装固定块,所述固定块顶端安装连接件,所述连接件顶端位于放置板顶端,所述放置板顶端与连接件用螺钉连接,所述空腔底端位于固定块底端设置滑动槽,所述固定杆块底端位于滑动槽内安装安装块,所述安装块底端安装滑轮与滑动槽底端接触,所述固定块远离放置板一端位于滑轮上方设置置物槽,所述置物槽内设置减震装置,所述放置板右侧安装第一螺纹杆与之转动连接,所述空腔右侧设置开孔,所述开孔内设置螺纹,该装置能够使得瓷砖能够便于调节位置,便于对不同大小的瓷砖进行切割。


