授权公布号:CN211201229U
一种建筑施工用安全防护装置
有效
申请
2019-11-13
申请公布
1970-01-01
授权
2020-08-07
预估到期
2029-11-13
| 申请号 | CN201921950229.6 |
| 申请日 | 2019-11-13 |
| 授权公布号 | CN211201229U |
| 授权公告日 | 2020-08-07 |
| 分类号 | E04G21/32 |
| 分类 | 建筑物; |
| 申请人名称 | 深圳市浩天装饰有限公司 |
| 申请人地址 | 广东省深圳市南山区后海大道滨海之窗花园1号楼03层01号铺 |
专利法律状态
2020-08-07
授权
状态信息
授权
摘要
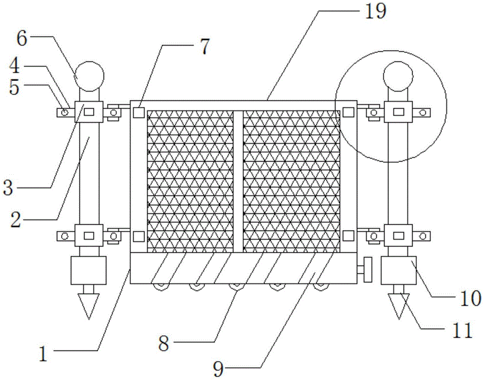
本实用新型公开了一种建筑施工用安全防护装置,包括底板,侧杆的顶部和底部均固定套设有套筒,两个套筒的两侧均固定安装有固定环,固定环的内部固定安装有安装块,且安装块通过连杆与防护栏的边侧固定连接,侧杆的底端固定安装有电动伸缩杆,电动伸缩杆的底端固定安装有突刺,本实用新型一种建筑施工用安全防护装置,防护网和侧杆通过安装块和固定环连接,安装快捷简单,同时可改变安装位置,收纳时,可通过限位槽和限位块将侧杆固定在防护网一侧,同时一起收纳,使用更加方便,且底板底部设有可伸缩的移动轮,方便移动,而侧杆底部的突刺,进一步提升防护栏支撑稳定性。


