授权公布号:CN218598992U
一种水电埋地管道固定装置
有效
申请
2022-08-24
申请公布
1970-01-01
授权
2023-03-10
预估到期
2032-08-24
| 申请号 | CN202222227891.7 |
| 申请日 | 2022-08-24 |
| 授权公布号 | CN218598992U |
| 授权公告日 | 2023-03-10 |
| 分类号 | F16L3/10;H02G9/06;H02G3/30 |
| 分类 | 工程元件或部件;为产生和保持机器或设备的有效运行的一般措施;一般绝热; |
| 申请人名称 | 深圳市浩天装饰有限公司 |
| 申请人地址 | 广东省深圳市南山区南头街道同乐社区北环大道10022号 |
专利法律状态
2023-03-10
授权
状态信息
授权
摘要
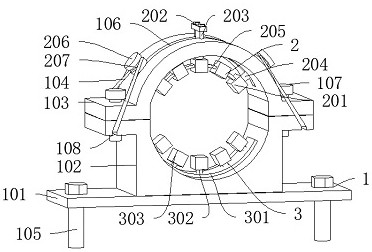
本实用新型公开了一种水电埋地管道固定装置,包括用于夹持支撑管道的支架机构,还包括用于贴合并固定管道上表面的固定机构和用于支撑和适配管道下表面的支撑机构,所述支架机构顶部设置有所述固定机构,所述固定机构下方设置有所述支撑机构。本实用新型所述的一种水电埋地管道固定装置,1、通过调整固定块使其与管道相切的设置,便于固定不同直径的管道,扩大了管道固定装置的使用范围;2、通过橡胶带和螺栓的双重固定,使管道被埋地后不易移动,加强了装置的牢固性;3、通过支撑块转动至与管道相切的设置,便于稳固支撑不同直径的管道。


