授权公布号:CN214502448U
一种室内装修用墙面找平仪
有效
申请
2020-12-28
申请公布
1970-01-01
授权
2021-10-26
预估到期
2030-12-28
| 申请号 | CN202023232475.3 |
| 申请日 | 2020-12-28 |
| 授权公布号 | CN214502448U |
| 授权公告日 | 2021-10-26 |
| 分类号 | G01C9/24;G01C15/00;E04F21/00 |
| 分类 | 测量;测试; |
| 申请人名称 | 深圳市浩天装饰有限公司 |
| 申请人地址 | 广东省深圳市南山区后海大道滨海之窗花园1号楼03层01号铺 |
专利法律状态
2021-10-26
授权
状态信息
授权
摘要
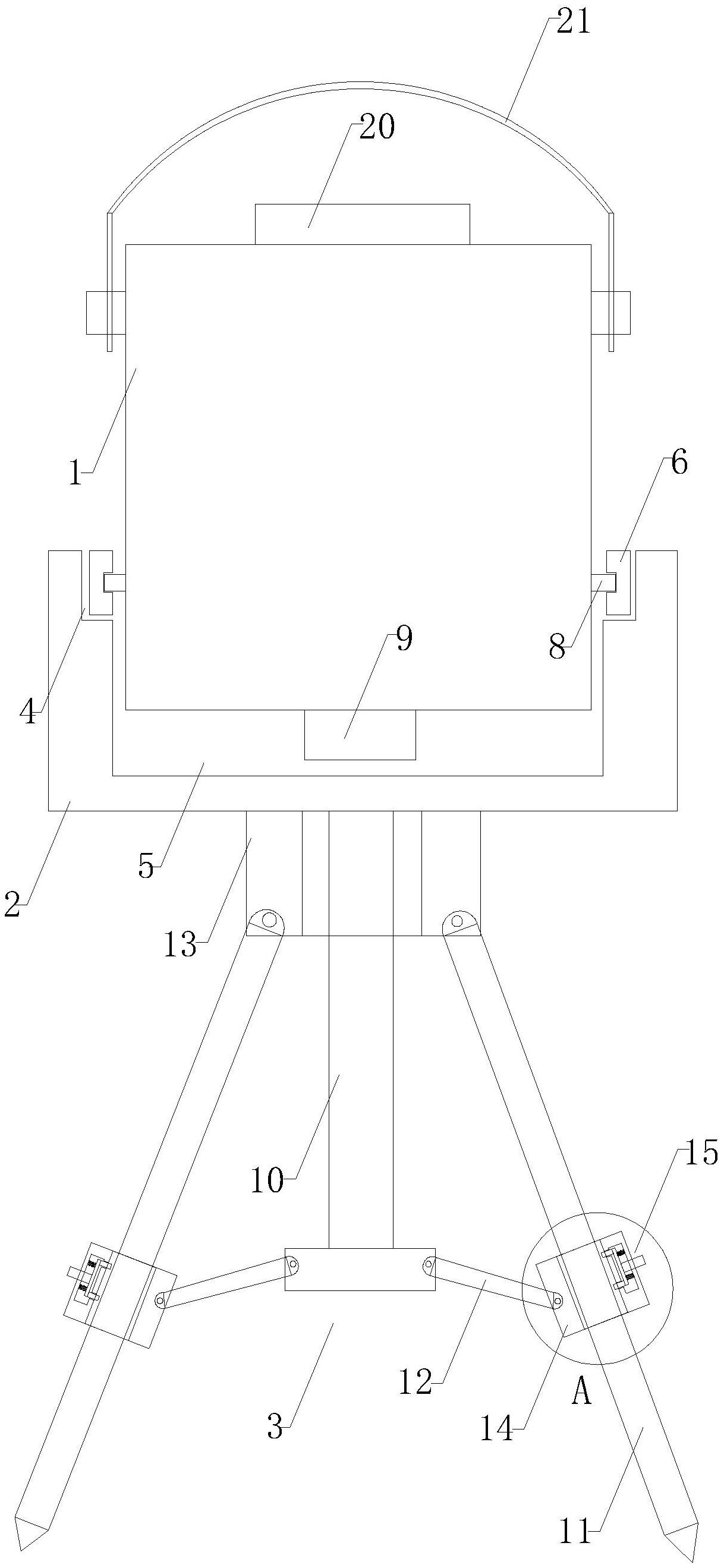
一种室内装修用墙面找平仪,包括投线仪、底盘以及三脚架,所述底盘顶端设置第一置物槽,所述第一置物槽槽底设置第二置物槽,第一置物槽内设置转环,所述第一置物槽左右两侧侧壁分别设置固定杆,所述固定杆远离第一置物槽侧壁一端与转环外侧侧壁转动连接,所述投线仪本体底端伸入第二置物槽内,所述转环内壁前后两侧分别转动设置定位杆,通过转环、固定杆以及定位杆的设置,便于通过重锤的重力作用使投线仪保持水平状态,使用方便,通过三脚架的设置,便于调节底盘的高度。


