授权公布号:CN109250821B
分级生物过滤滞留系统
有效
申请
2018-11-19
申请公布
2019-01-22
授权
2023-12-29
预估到期
2038-11-19
| 申请号 | CN201811374589.6 |
| 申请日 | 2018-11-19 |
| 申请公布号 | CN109250821A |
| 申请公布日 | 2019-01-22 |
| 授权公布号 | CN109250821B |
| 授权公告日 | 2023-12-29 |
| 分类号 | C02F3/30;C02F9/00;C02F1/00N;C02F1/28N;C02F7/00N;C02F101/30N |
| 分类 | 水、废水、污水或污泥的处理; |
| 申请人名称 | 中国机械设备工程股份有限公司 |
| 申请人地址 | 北京市西城区广安门外大街178号 |
专利法律状态
2023-12-29
授权
状态信息
授权
2019-02-22
实质审查的生效
状态信息
实质审查的生效;IPC(主分类):C02F3/30;申请日:20181119
2019-01-22
公布
状态信息
公布
摘要
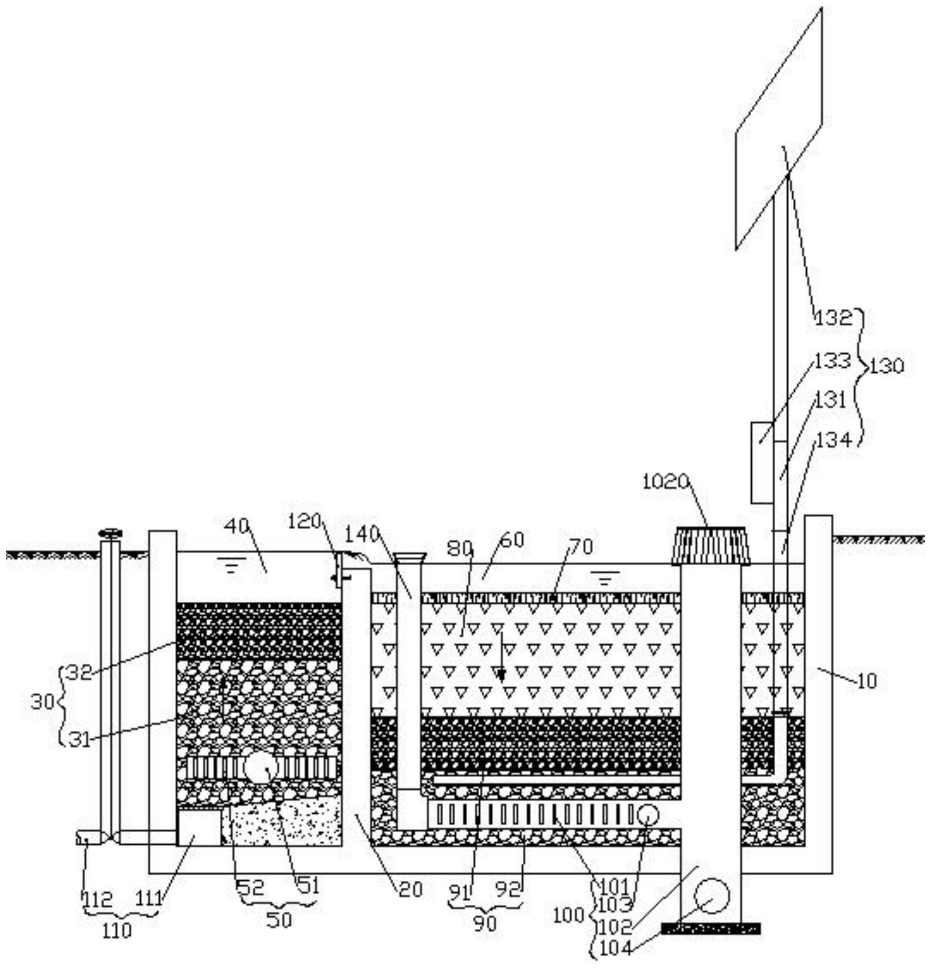
本发明公开了一种分级生物过滤滞留系统,包括:顶端开口的滞留池,滞留池的池底竖直设有分隔墙,分隔墙用于将滞留池分隔为两个独立的第一过滤区和第二过滤区。第一过滤区沿雨水流动方向布设有用于对雨水中含有的颗粒物进行过滤的第一砾石层、用于使雨水留滞以形成缺氧/厌氧环境的第一蓄水层,第一过滤区内还埋设有用于将需要处理的雨水导入第一砾石层中的进水管路。第二过滤区内沿雨水流动方向依次布设有用于蓄积由第一蓄水层溢流出的雨水的第二蓄水层、覆盖层、用于雨水中残留的颗粒物再次过滤并同时对雨水中残留的有机污染物进行吸附和降解的生物过滤介质层、用于实现快速排水的第二砾石层,第二砾石层中埋设有排水管路。


