授权公布号:CN109037992B
电连接器及其制造方法
有效
申请
2017-08-18
申请公布
2018-12-18
授权
2023-07-14
预估到期
2037-08-18
| 申请号 | CN201710714156.X |
| 申请日 | 2017-08-18 |
| 申请公布号 | CN109037992A |
| 申请公布日 | 2018-12-18 |
| 授权公布号 | CN109037992B |
| 授权公告日 | 2023-07-14 |
| 分类号 | H01R13/02;H01R13/648;H01R13/6597;H01R43/20;H01R43/00 |
| 分类 | 基本电气元件; |
| 申请人名称 | 深圳市得润电子股份有限公司 |
| 申请人地址 | 广东省深圳市光明区凤凰街道汇通路269号得润电子工业园 |
专利法律状态
2023-07-14
授权
状态信息
授权
2019-11-08
著录事项变更
状态信息
著录事项变更;IPC(主分类):H01R13/02;变更事项:申请人;变更前:深圳市得润电子股份有限公司;变更后:深圳市得润电子股份有限公司;变更事项:地址;变更前:518107 广东省深圳市光明新区光明街道三十三路9号得润电子工业园;变更后:518107 广东省深圳市光明区凤凰街道汇通路269号得润电子工业园
2019-01-11
实质审查的生效
状态信息
实质审查的生效;IPC(主分类):H01R13/02;申请日:20170818
2018-12-18
公布
状态信息
公布
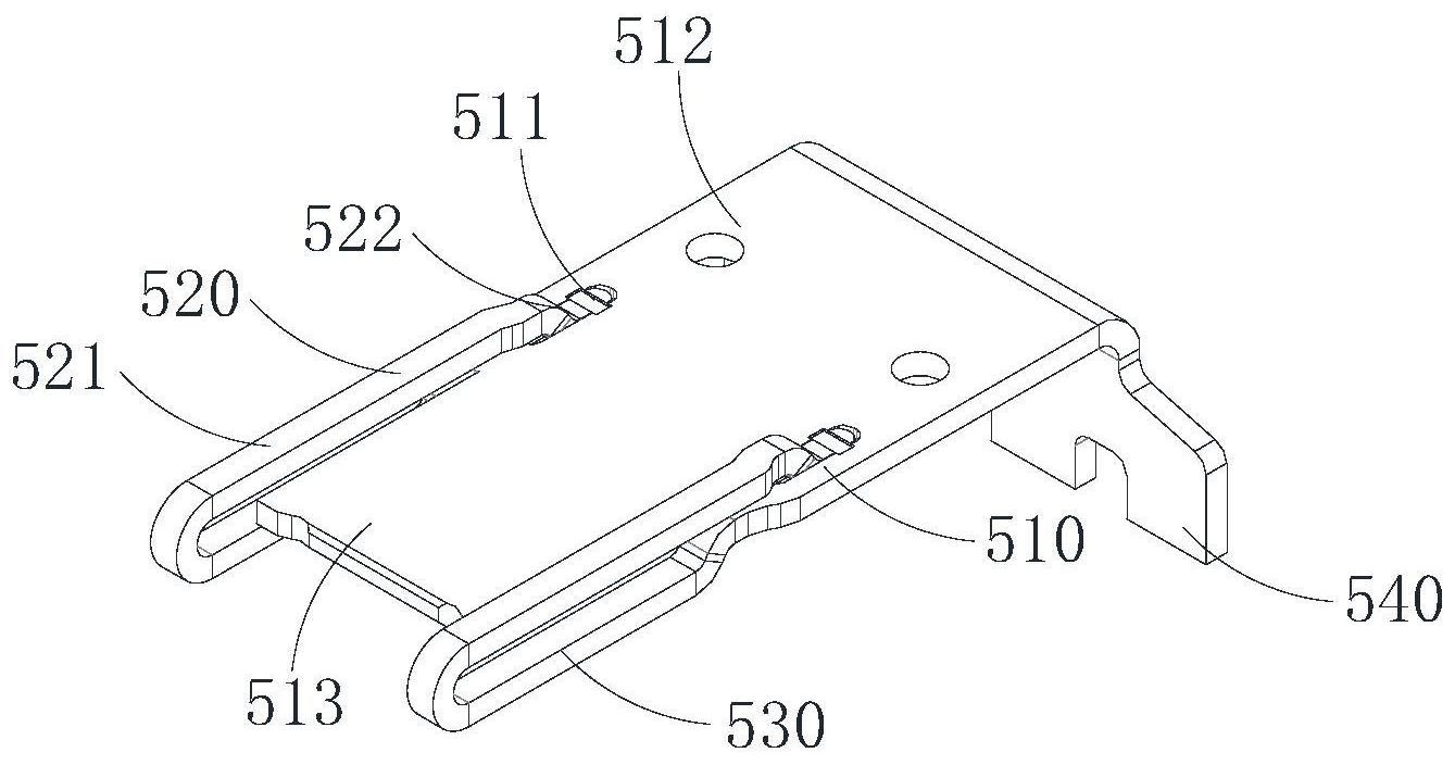
摘要
本发明实施例公开了一种电连接器及其制造方法。一种电连接器包括:绝缘本体、屏蔽板、接地端子和信号端子,还包括:电源板,电源板包括连接部、上电源端子和自连接部向下弯折水平延伸的下电源端子,上电源端子自下电源端子前端向上弯折后再反向水平延伸,上电源端子和下电源端子平行,上电源端子和下电源端子的中心线上下重合。所述电连接器包括两块所述屏蔽板,所述两块屏蔽板之间设置有收容所述电源板的第二收容空间。通过上述方式,本发明实施例能够增加散热,实现大电流功能。


