授权公布号:CN218476925U
一种矿山矿石加工用具备定位功能的精确切割装置
有效
申请
2022-08-02
申请公布
1970-01-01
授权
2023-02-14
预估到期
2032-08-02
| 申请号 | CN202222010141.4 |
| 申请日 | 2022-08-02 |
| 授权公布号 | CN218476925U |
| 授权公告日 | 2023-02-14 |
| 分类号 | B28D1/02;B28D7/00 |
| 分类 | 加工水泥、黏土或石料; |
| 申请人名称 | 海城市后英经贸集团有限公司 |
| 申请人地址 | 辽宁省鞍山市海城市英落镇后英村 |
专利法律状态
2023-02-14
授权
状态信息
授权
摘要
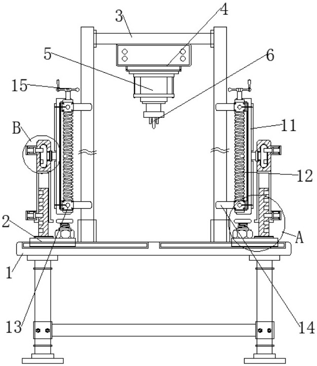
本实用新型公开了一种矿山矿石加工用具备定位功能的精确切割装置,包括工作台,工作台上左右两侧均安装有若干基板,基板上安装有升降结构,升降结构上安装有夹持结构,工作台上安装有支架,支架上安装有电动滑轨,电动滑轨的滑动端面上安装有电动推杆,电动推杆的伸缩端上安装有电锯,本实用新型涉及矿石加工技术领域,该矿山矿石加工用具备定位功能的精确切割装置,通过工作台顶部的电锯、电动推杆以及电动滑轨可以对矿石进行切割,通过升降结构、基板可以调整夹持结构的角度位置,方便夹持结构更好的与不同尺寸的矿石匹配,然后夹持结构本身也是具备调节功能的,进一步与不同的矿石形状匹配,使其可以更好的夹住矿石。


