授权公布号:CN218476927U
一种具有高效除尘功能的矿石切割装置
有效
申请
2022-07-29
申请公布
1970-01-01
授权
2023-02-14
预估到期
2032-07-29
| 申请号 | CN202221982512.9 |
| 申请日 | 2022-07-29 |
| 授权公布号 | CN218476927U |
| 授权公告日 | 2023-02-14 |
| 分类号 | B28D1/04;B28D7/04;B28D7/00 |
| 分类 | 加工水泥、黏土或石料; |
| 申请人名称 | 海城市后英经贸集团有限公司 |
| 申请人地址 | 辽宁省鞍山市海城市英落镇后英村 |
专利法律状态
2023-02-14
授权
状态信息
授权
摘要
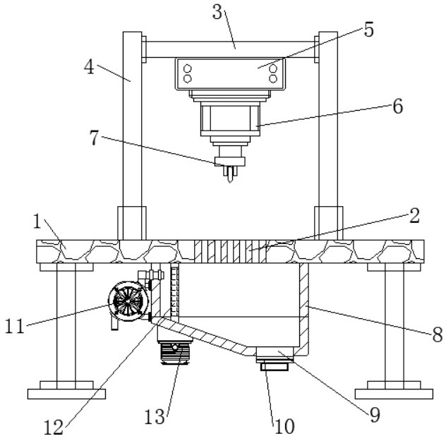
本实用新型公开了一种具有高效除尘功能的矿石切割装置,包括工作台,工作台上且位于中心处嵌装有托板,托板上开设有若干通口,工作台的底部且位于托板处安装有吸灰结构,工作台上且位于前后两侧均安装有扫灰结构,扫灰结构与托板位于同一直线上,托板上安装有切割结构,本实用新型涉及矿石切割技术领域,该具有高效除尘功能的矿石切割装置,可以将待切割的矿石放置在工作台上,通过启动切割结构对矿石进行切割,过程中可以启动吸灰结构,一定程度上吸入切割矿石时产生的碎屑、灰尘等,防止碎屑飞溅,这样方便了清洁机房,也不会因为长期切割积累的粉尘影响工作的身体,在切割结束以后残留在工作台上的碎屑可以通过扫灰结构扫入箱体内。


