授权公布号:CN113941399B
一种烧结矿粉碎收集装置
有效
申请
2021-10-15
申请公布
2022-01-18
授权
2023-06-02
预估到期
2041-10-15
| 申请号 | CN202111204492.2 |
| 申请日 | 2021-10-15 |
| 申请公布号 | CN113941399A |
| 申请公布日 | 2022-01-18 |
| 授权公布号 | CN113941399B |
| 授权公告日 | 2023-06-02 |
| 分类号 | B02C4/08;B02C4/28;B02C23/18;B01F33/40;B01F33/83 |
| 分类 | 破碎、磨粉或粉碎;谷物碾磨的预处理; |
| 申请人名称 | 四川德胜集团钒钛有限公司 |
| 申请人地址 | 四川省乐山市沙湾区铜河路南段8号 |
专利法律状态
2023-06-02
授权
状态信息
授权
2022-02-08
实质审查的生效
状态信息
实质审查的生效;IPC(主分类):B02C4/08;申请日:20211015
2022-01-18
公布
状态信息
公布
摘要
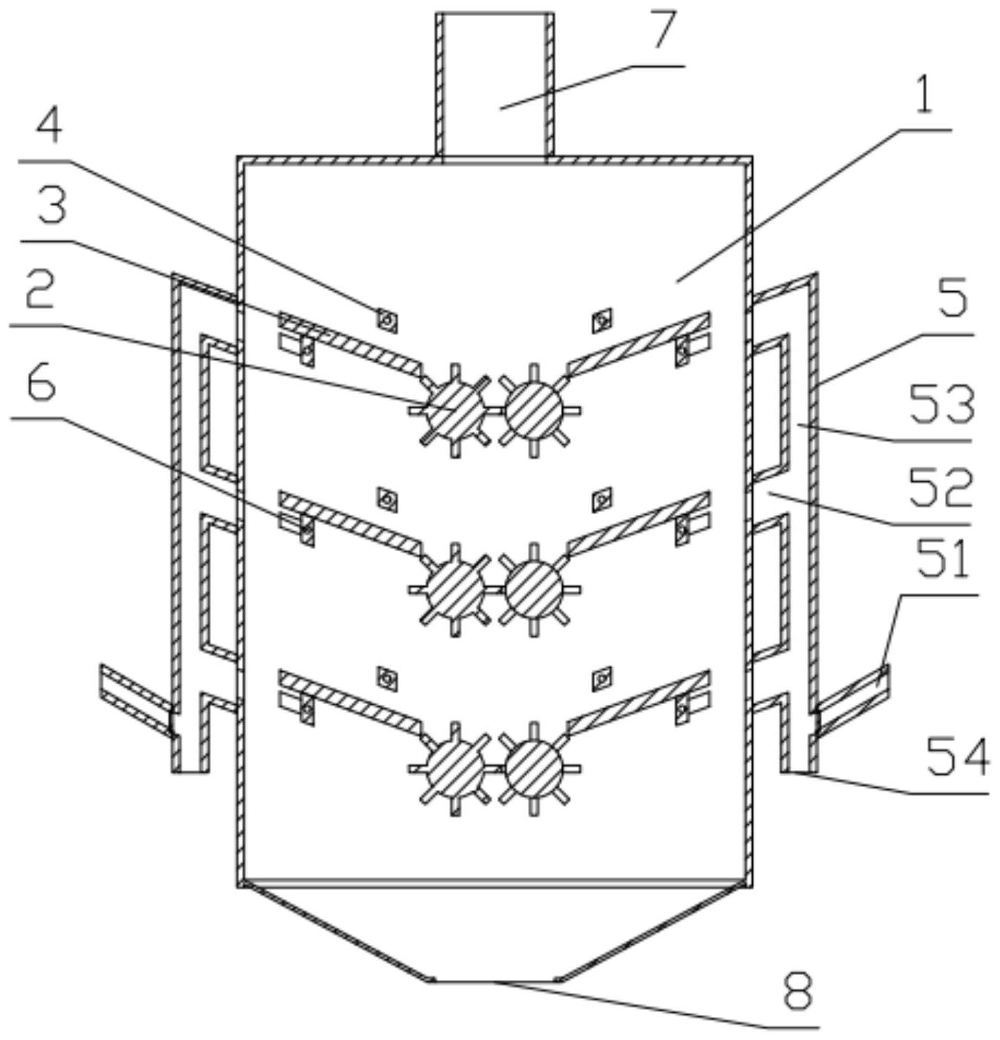
本发明公开了一种烧结矿粉碎收集装置,包括收集箱体、设置在收集箱体内的一对对应设置的研磨棒、设置在研磨棒两侧的斜板、设置在斜板上方的第一矿粉添加管、设置在收集箱体侧面的冷却气管、设置在斜板底部外侧的第二矿粉添加管。本发明的烧结矿粉碎收集装置能进行多段矿粉添加,有效减少粉碎混合的粉末不均匀度。


