授权公布号:CN219755414U
一种流体控制结构及使用其的水龙头
有效
申请
2023-05-18
申请公布
1970-01-01
授权
2023-09-26
预估到期
2033-05-18
| 申请号 | CN202321202687.8 |
| 申请日 | 2023-05-18 |
| 授权公布号 | CN219755414U |
| 授权公告日 | 2023-09-26 |
| 分类号 | F16K11/02;F16K11/10 |
| 分类 | 工程元件或部件;为产生和保持机器或设备的有效运行的一般措施;一般绝热; |
| 申请人名称 | 宁波展鹰智能厨卫科技有限公司 |
| 申请人地址 | 浙江省宁波市江北区创业园C区通惠路456号33幢 |
专利法律状态
2023-09-26
授权
状态信息
授权
摘要
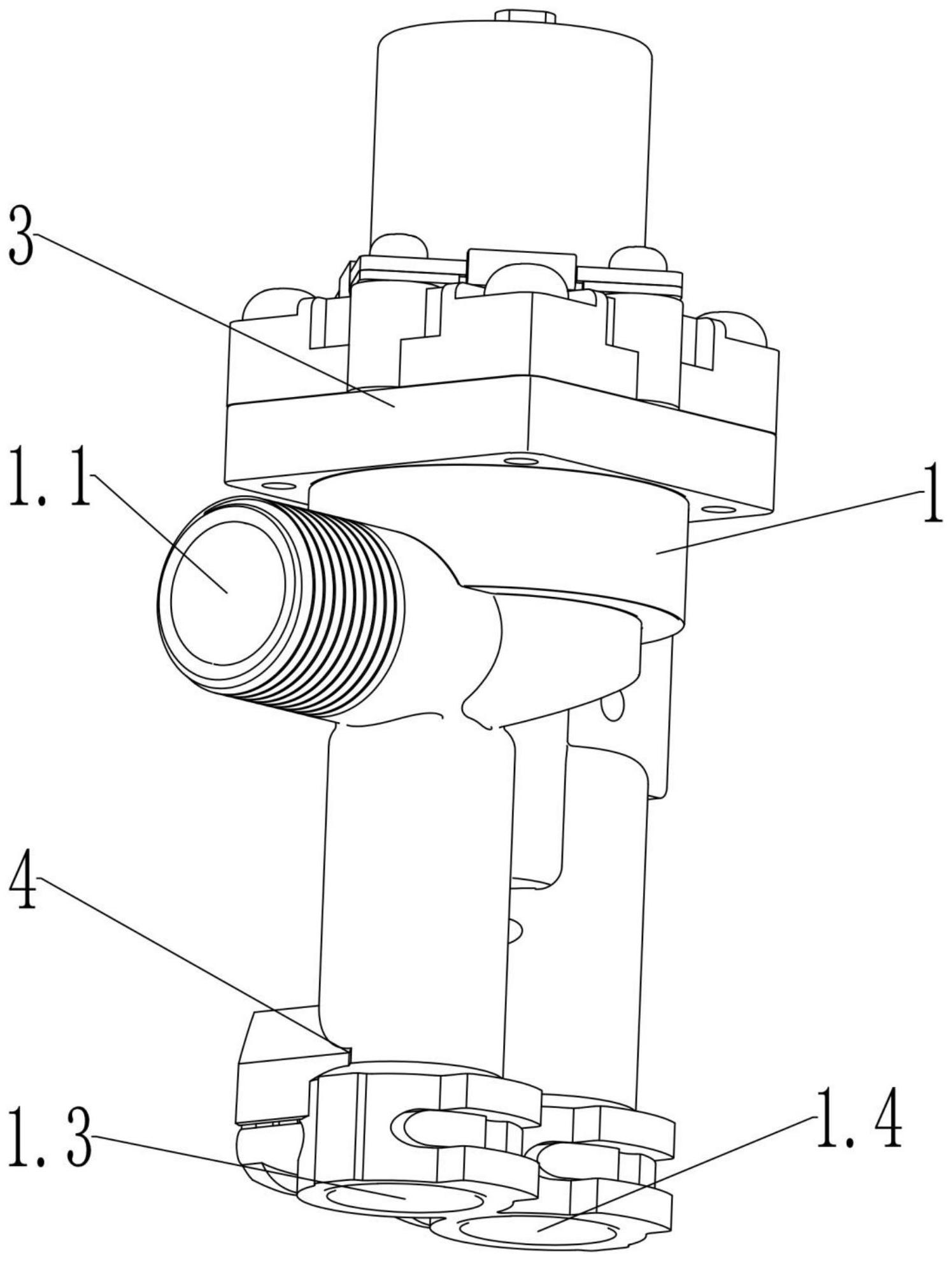
本实用新型公开了一种流体控制结构,包括本体和控制元件,所述本体上设有进水口、过水腔、第一出水口和第二出水口,其中,所述第一出水口与第二出水口连通,所述进水口通过过水腔与第二出水口连通,所述控制元件包括封堵膜片和驱动所述封堵膜片移动的驱动件,所述封堵膜片设置于过水腔内,以将所述进水口与第二出水口之间隔断,所述驱动件驱动所述封堵膜片移动以控制进水口与第二出水口之间的通断。本实用新型提供一种流体控制结构及使用其的水龙头,结构紧凑,占用空间小,即能够实现直接出水,又能够实现控制出水。


