授权公布号:CN218066741U
一种蠕形噪音测试系统
有效
申请
2022-08-19
申请公布
1970-01-01
授权
2022-12-16
预估到期
2032-08-19
| 申请号 | CN202222191676.6 |
| 申请日 | 2022-08-19 |
| 授权公布号 | CN218066741U |
| 授权公告日 | 2022-12-16 |
| 分类号 | G01H17/00;G01M17/007 |
| 分类 | 测量;测试; |
| 申请人名称 | 泰明顿摩擦材料技术(上海)有限公司 |
| 申请人地址 | 上海市嘉定区嘉定工业区嘉唐公路1521号6幢 |
专利法律状态
2022-12-16
授权
状态信息
授权
摘要
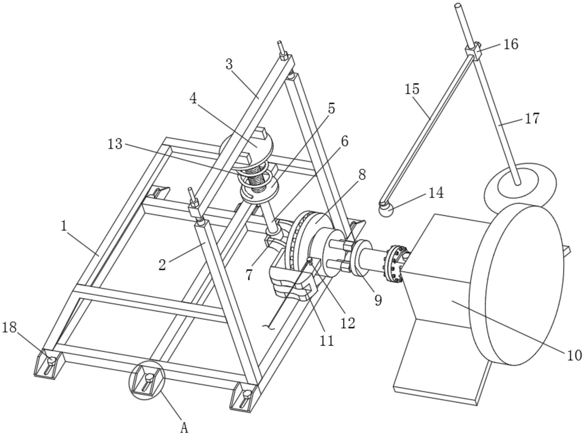
本实用新型属于噪音测试技术领域,公开了一种蠕形噪音测试系统,包括噪音悬架,噪音悬架一端的两侧均固定连接有液压杆,两组液压杆顶部驱动端的连接处共同连接有横梁,横梁位于噪音悬架一侧的上方,且横梁中部的下方设有第一圆盘,第一圆盘的下方设有第二圆盘,第二圆盘底部的中心固定连接有底杆,底杆的底端固定安装有联结架,联结架位于噪音悬架的一侧边,且联结架的一侧端设有制动盘,制动盘的一端设有轮辋,轮辋背离制动盘的一端设置有驱动电机,制动盘一端的外侧设有制动卡钳。通过设置的噪音悬架,能够对其上结构进行主体承接的同时,起到对整体在所需工作位置的定位装配作用。


