授权公布号:CN214941186U
一种室内冰雪乐园马道吊杆穿保温的防冷桥构造
有效
申请
2021-05-26
申请公布
1970-01-01
授权
2021-11-30
预估到期
2031-05-26
| 申请号 | CN202121146607.2 |
| 申请日 | 2021-05-26 |
| 授权公布号 | CN214941186U |
| 授权公告日 | 2021-11-30 |
| 分类号 | E04B1/76;E04B1/78;E04B1/66 |
| 分类 | 建筑物; |
| 申请人名称 | 北京维拓时代建筑设计股份有限公司 |
| 申请人地址 | 北京市朝阳区道家村一号1号楼 |
专利法律状态
2021-11-30
授权
状态信息
授权
摘要
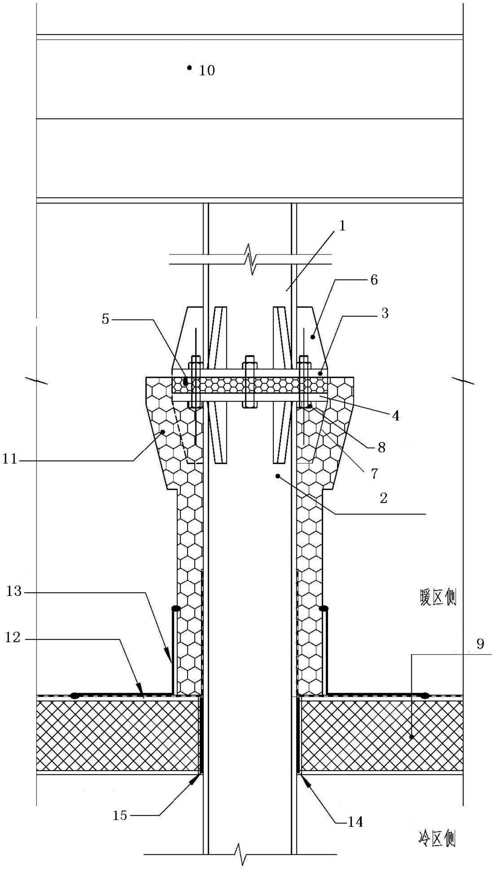
本实用新型提供一种室内冰雪乐园马道吊杆穿保温的防冷桥构造,其特征在于,将马道吊杆切分为两段,包括:上段马道吊杆和下段马道吊杆;在所述上段马道吊杆和所述下段马道吊杆之间设置法兰组件;所述法兰组件包括上法兰盘、下法兰盘、高强隔热垫块、上部加筋肋和下部加筋肋;本实用新型提供的一种室内冰雪乐园马道吊杆穿保温的防冷桥构造具有以下优点:本实用新型提供的一种室内冰雪乐园马道吊杆穿保温的防冷桥构造,有效防止了冷区马道吊杆的冷桥问题,避免了马道吊杆在暖区一侧的结露现象。


