授权公布号:CN215106670U
一种绿色低能耗建筑屋面及女儿墙节点结构
有效
申请
2021-05-21
申请公布
1970-01-01
授权
2021-12-10
预估到期
2031-05-21
| 申请号 | CN202121102024.X |
| 申请日 | 2021-05-21 |
| 授权公布号 | CN215106670U |
| 授权公告日 | 2021-12-10 |
| 分类号 | E04D13/00;E04D13/16 |
| 分类 | 建筑物; |
| 申请人名称 | 北京维拓时代建筑设计股份有限公司 |
| 申请人地址 | 北京市朝阳区道家村一号1号楼 |
专利法律状态
2021-12-10
授权
状态信息
授权
摘要
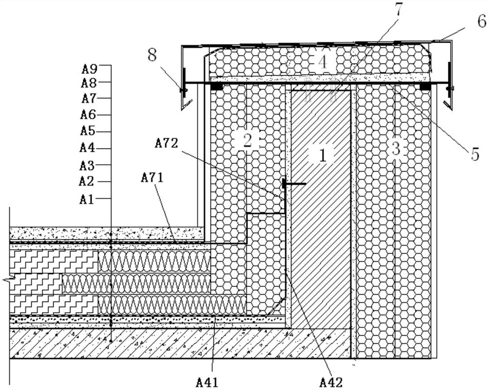
本实用新型提供一种绿色低能耗建筑屋面及女儿墙节点结构,包括:女儿墙防冷桥单元和屋面板防冷桥单元;女儿墙防冷桥单元包括建筑女儿墙、第一外墙保温板、第二外墙保温板、第三外墙保温板、钢支架和铝合金盖板;屋面板防冷桥单元包括:依次铺设于屋面板上方的第一水泥砂浆找平层、水泥膨胀珍珠岩找坡层、第一道防水卷材、挤塑聚苯板、第二水泥砂浆找平层、第二道防水卷材、石灰砂浆层和混凝土防护层。本实用新型提供一种绿色低能耗建筑屋面及女儿墙节点结构,通过对建筑屋面及女儿墙的设计,有效实现了无冷桥设计,保证了建筑外围护结构保温层的连续性,从而阻止更多的热量通过屋面板和女儿墙向四周传递,满足绿色低能耗建筑设计要求。


