授权公布号:CN220246656U
一种桥台和路基的过渡段结构
有效
申请
2023-08-14
申请公布
1970-01-01
授权
2023-12-26
预估到期
2033-08-14
| 申请号 | CN202322185283.9 |
| 申请日 | 2023-08-14 |
| 授权公布号 | CN220246656U |
| 授权公告日 | 2023-12-26 |
| 分类号 | E01D19/02;E01D19/12;E01C3/04 |
| 分类 | 道路、铁路或桥梁的建筑; |
| 申请人名称 | 中铁隆工程集团有限公司 |
| 申请人地址 | 四川省成都市武侯区武科西二路189号中铁隆大厦8层 |
专利法律状态
2023-12-26
授权
状态信息
授权
摘要
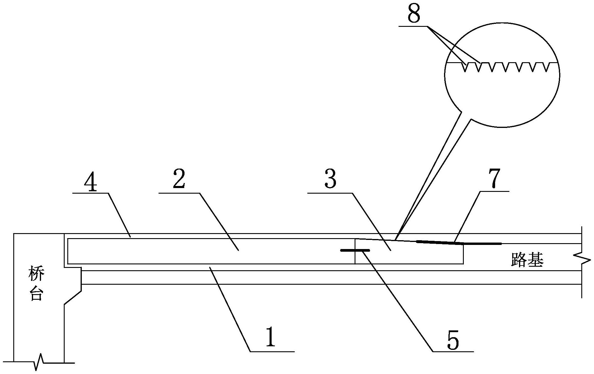
本实用新型公开了一种桥台和路基的过渡段结构,包括设置在桥台与路基之间的路基基层,所述路基基层上设置有过渡段,所述过渡段包括沿着桥台至路基的方向依次设置的搭板和混凝土埋板,所述混凝土埋板紧贴搭板的一端厚度与搭板的厚度相同且表面齐平,混凝土埋板沿着远离桥台的方向厚度逐渐减小,混凝土埋板的表面呈斜面结构,搭板和混凝土埋板的上方设置有面层,所述面层的表面与桥台和路基面层的表面齐平。本实用新型通过在桥台和路基之间设置刚度渐变的过渡段结构,使得桥台与路基之间的刚度差能够逐渐过渡,从而避免在桥台和路基结合部出现“跳车”现象。


