授权公布号:CN218095009U
一种隧道施工快速调平装置
有效
申请
2022-06-14
申请公布
1970-01-01
授权
2022-12-20
预估到期
2032-06-14
| 申请号 | CN202221477997.6 |
| 申请日 | 2022-06-14 |
| 授权公布号 | CN218095009U |
| 授权公告日 | 2022-12-20 |
| 分类号 | F16M11/04;F16M11/18;F16M13/02 |
| 分类 | 工程元件或部件;为产生和保持机器或设备的有效运行的一般措施;一般绝热; |
| 申请人名称 | 中铁隆工程集团有限公司 |
| 申请人地址 | 四川省成都市武侯区武科西二路189号中铁隆大厦8层 |
专利法律状态
2022-12-20
授权
状态信息
授权
摘要
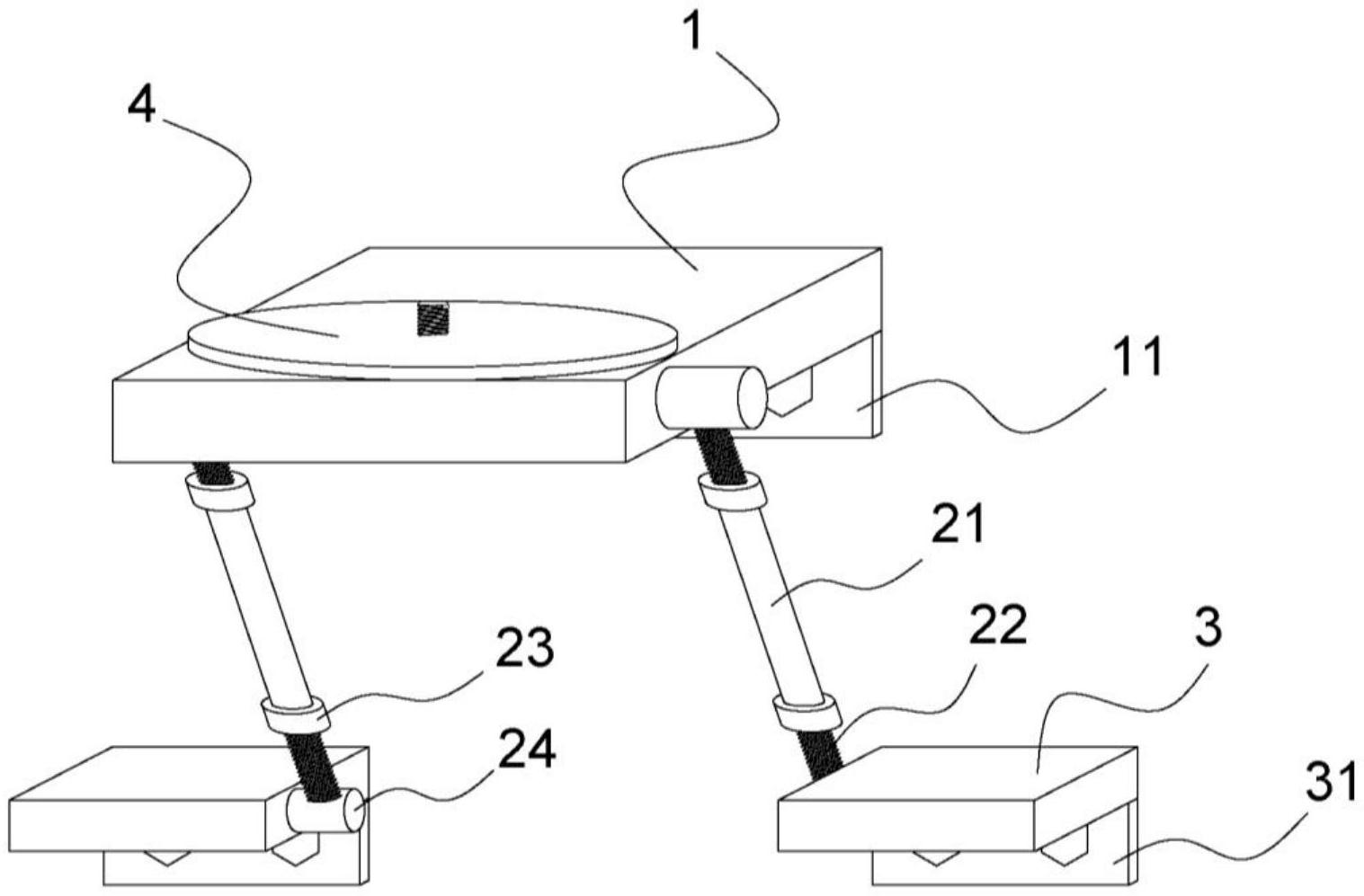
本实用新型公开了一种隧道施工快速调平装置,旨在解决现有的三脚架在隧道内的弧形管片上安装调平不便。一种隧道施工快速调平装置,包括放置台,调节组件包括套筒、调节丝杆和固定件,放置台通过第一连接板用于与隧道管片可拆卸连接,套筒的两端均固定连接有调节螺母,两个调节螺母均适配有与其螺纹连接的调节丝杆,套筒内设有令调节丝杆沿其中心轴线移动的调节空间,调节丝杆远离套筒的一端与固定件固定连接,固定件设置在放置台上,转动调节螺母带动调节螺杆上升或下降,从而使调节丝杆带动固定件令放置台上升或下降,通过调节丝杆的移动可快速对放在放置台上的进行调平。


